COMPONENT PARTS
Component Parts Location


STRUCTURE AND OPERATION
Sectional View

System Description
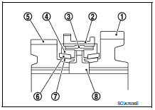
Triple-cone synchronizer
Triple-cone synchronizers are adopted for the 1st and the 2nd gears to reduce operating force of the shifter lever.

Reverse gear noise prevention function (synchronizing method)
Reverse gear assembly consists of reverse input gear, return spring, reverse baulk ring, and reverse output gear. When the shifter lever is moved to the reverse position, the construction allows smooth shift operation by stopping the reverse idler shaft rotation by frictional force of synchronizer.

Preparation
DTC/Circuit diagnosisNISSAN Intelligent Key® (if so equipped)
Your vehicle can only be driven with the Intelligent
Keys which are registered to your vehicle’s Intelligent
Key components and NISSAN Vehicle Immobilizer
System components.
Never leave these keys in the vehicle.
As many as 4 Intelligent Keys can be registered
and used with one vehicle. The ...
Diagnosis system (combination meter)
Description
COMBINATION METER SELF-DIAGNOSIS MODE
The information display, speedometer and tachometer can be checked in
self-diagnosis mode.
STARTING COMBINATION METER SELF-DIAGNOSIS MODE
NOTE:
Check combination meter power supply and ground circuits if
self-diagnosis mode does not star ...
Engine control system
ENGINE CONTROL SYSTEM : System Description
SYSTEM DIAGRAM
NOTE:
Position switch and clutch pedal position switch are not used in
models with CVT.
ASCD steering switch and brake pedal position switch are used in
models with ASCD.
TCM and transmission range switch are not used in m ...