Component parts
Component parts location


Component description

CVT shift selector (park position switch)
Park position switch detects that CVT shift selector is in the P (Park) position and then transmits the signal to BCM and IPDM E/R.
BCM confirms the CVT shift selector position with the following 5 signals:
IPDM E/R confirms the CVT shift selector position with the following 3 signals:
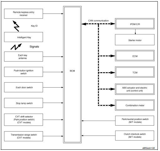
BCM
BCM controls INTELLIGENT KEY SYSTEM (ENGINE START FUNCTION), NISSAN VEHICLE IMMOBILIZER SYSTEM-NATS (NATS), and VEHICLE SECURITY SYSTEM.
BCM performs the ID verification between BCM and Intelligent Key when the Intelligent Key is carried into the detection area of inside key antenna and push-button ignition switch is pressed. If the ID verification result is OK, push-button ignition switch operation is available.
Then, when the power supply position is turned ON, BCM performs ID verification between BCM and ECM. If the ID verification result is OK, ECM can start engine.
ECM
ECM controls the engine.
When power supply position is turned ON, BCM starts communication with ECM and performs the ID verification between BCM and ECM.
If the verification result is OK, the engine can start. If the verification result is invalid, the engine can not start.
IPDM E/R
IPDM E/R has the starter relay and starter control relay inside. Starter relay and starter control relay are used for the engine starting function. IPDM E/R controls these relays while communicating with BCM.
NATS Antenna Amp
The ID verification is performed between BCM and transponder in Intelligent Key via NATS antenna amp.
when Intelligent Key backside is contacted to push-button ignition switch in case that Intelligent Key battery is discharged. If the ID verification result is OK, the operation of starting engine is available.
Combination Meter
Combination meter transmits the vehicle speed signal to BCM via CAN communication.
BCM also receives the vehicle speed signal from ABS actuator and electric unit (control unit) via CAN communication.
BCM compares both signals to detect the vehicle speed.
Door Switch
Door switch detects door open/close condition and then transmits ON/OFF signal to BCM.
Outside Key Antenna
Outside key antenna detects whether Intelligent Key is outside the vehicle and transmits the signal to BCM.
Three outside key antennas are installed in the front outside handle LH, front outside handle RH and rear bumper.
Inside Key Antenna
Inside key antenna detects whether Intelligent Key is inside the vehicle and transmits the signal to BCM.
Three inside key antennas are installed in the instrument center, console and trunk room.
Remote Keyless Entry Receiver
Remote keyless entry receiver receives each button operation signal and electronic key ID signal from Intelligent Key and then transmits the signal to BCM.
Intelligent Key
Each Intelligent Key has an individual electronic ID and transmits the ID signal by request from BCM.
Carrying the Intelligent Key whose ID is registered in BCM, the driver can perform, remote start, door lock/ unlock operation, remote liftgate, panic alarm and push-button ignition switch operation.
Push-button Ignition Switch
Push-button ignition switch detects that push-button is pressed and then transmits the signal to BCM. BCM changes the power supply position with the operation of push-button ignition switch. BCM maintains the power supply position status while push-button is not operated.
Security Indicator Lamp
Security indicator lamp is located on combination meter.
Security indicator lamp blinks when power supply position is any position other than ON to warn that NISSAN VEHICLE IMMOBILIZER SYSTEM-NATS (NATS) is on board.
Starter Relay
Engine starting system functions by controlling both starter relay and starter control relay.
Both relays are integrated in IPDM E/R. Starter relay is controlled by BCM, and starter control relay is controlled by IPDM E/R on request from BCM.
IPDM E/R transmits starter relay and starter control relay status signal to BCM via CAN communication.
Stop Lamp Switch
Stop lamp switch detects that brake pedal is depressed, and then transmits the signal to BCM.
Transmission Range Switch
Transmission range switch is integrated in CVT assembly, and detects the CVT shift selector position.
TCM receives the transmission range switch signal and then transmits the P/N position signal to BCM and IPDM E/R.
BCM confirms the CVT shift selector position with the following 5 signals:
IPDM E/R confirms the CVT shift selector position with the following 3 signals:
Park/neutral position (PNP) switch (neutral switch)
Park/neutral position (PNP) switch detects that shift lever is in the neutral position, and then transmits ON/OFF signal to BCM.
Clutch interlock switch
Clutch interlock switch detects that clutch pedal is depressed, then provides power source to starter control relay and starter relay, and transmits ON/OFF signal to BCM.
System
Intelligent key system/engine start function
Intelligent key system/engine start function : system description
SYSTEM DIAGRAM

SYSTEM DESCRIPTION
NOTE:
The driver should carry the Intelligent Key at all times.
NOTE:
Refer to SEC-14, "NISSAN ANTI-THEFT SYSTEM : System Description" for any functions other than engine start function of Intelligent Key system.
PRECAUTIONS FOR INTELLIGENT KEY SYSTEM
The transponder (the chip for NATS ID verification) is integrated into the Intelligent Key. (For the conventional models, it is integrated into the mechanical key.) Therefore, ID verification cannot be performed by mechanical key only.
In that case, NATS ID verification can be performed when Intelligent Key backside is contacted to push-button ignition switch while brake pedal is depressed. If verification result is OK, engine can be started.
OPERATION WHEN INTELLIGENT KEY IS CARRIED
CAUTION:
If a malfunction is detected in the Intelligent Key system, the “KEY” warning lamp on the combination meter illuminates. At that time, the engine cannot be started.
CAUTION:
When the Intelligent Key is carried outside of the vehicle (inside key antenna detection area) while the power supply is in the ACC or ON position, even if the engine start condition* is satisfied, the engine cannot be started.
*: For the engine start condition, refer to “IGNITION SWITCH POSITION CHANGE TABLE BY PUSH-BUTTON IGNITION SWITCH OPERATION”.
OPERATION RANGE
Engine can be started when Intelligent Key is inside the vehicle. However, sometimes engine may not start when Intelligent Key is on instrument panel or in glove box.
ENGINE START OPERATION WHEN INTELLIGENT KEY IS CONTACTED TO PUSH-BUTTON IGNITION SWITCH
When Intelligent Key battery is discharged, NATS ID verification between transponder in Intelligent Key and BCM is performed when Intelligent Key backside is contacted to push-button ignition switch while brake pedal is depressed. If the verification result is OK, engine can be started.
IGNITION SWITCH POSITION CHANGE TABLE BY PUSH-BUTTON IGNITION SWITCH OPERATION
The ignition switch position can be changed by the following operations.
NOTE:
CVT models
M/T models
Vehicle speed: less than 4 km/h (2.5 MPH)

Vehicle speed: 4 km/h (2.5 MPH) or more

Emergency stop operation
Nissan anti-theft system
Nissan anti-theft system : system description
SYSTEM DIAGRAM

SYSTEM DESCRIPTION
For ECM replacement procedure, refer to EC-485, "Removal and Installation".
PRECAUTIONS FOR KEY REGISTRATION
SECURITY INDICATOR LAMP
NOTE:
Because security indicator lamp is highly efficient, the battery is barely affected.
ENGINE START OPERATION WHEN INTELLIGENT KEY IS CONTACTED TO PUSH-BUTTON IGNITION SWITCH
*: For the engine start condition, refer to “IGNITION SWITCH POSITION CHANGE TABLE BY PUSH-BUTTON IGNITION SWITCH OPERATION” below.
IGNITION SWITCH POSITION CHANGE TABLE BY PUSH-BUTTON IGNITION SWITCH OPERATION
The ignition switch position can be changed by the following operations.
NOTE:
CVT models
M/T models
Vehicle speed: less than 4 km/h (2.5 MPH)


Vehicle speed: 4 km/h (2.5 MPH) or more

Emergency stop operation
Vehicle security system
Vehicle security system : system description
The priority of the functions are as per the following.

THEFT WARNING ALARM
Operation Flow


NOTE:
DISARMED Phase
The vehicle security system is not set in the DISARMED phase. The vehicle security system stays in this phase while any door is open because it is assumed that the owner is inside or nearby the vehicle. Security indicator lamp blinks every 2.4 seconds.
When the vehicle security system is reset, each phase switches to the DISARMED phase directly.
PRE-ARMED Phase
The PRE-ARMED phase is the transient state between the DISARMED phase and the ARMED phase. This phase is maintained for 30 seconds so that the owner can reset the setting due to a mis-operation. This phase switches to the ARMED phase when vehicle conditions are not changed for 30 seconds. Security indicator lamp illuminates while being in this phase.
To reset the PRE-ARMED phase, refer to the switching condition of No. 10 in the table above.
ARMED Phase
The vehicle security system is set and BCM monitors all necessary inputs. If any door is opened without using Intelligent Key, vehicle security system switches to the ALARM phase. Security indicator lamp blinks every 2.4 seconds.
To reset the ARMED phase, refer to the switching condition of No. 11 in the table above.
ALARM Phase
BCM transmits “Theft Warning Horn Request” signal and “High Beam Request” signal intermittently to IPDM E/R via CAN communication. In this phase, horns and headlamps are activated intermittently for approximately 50 seconds to warn that the vehicle is accessed by unauthorized means. ON/OFF timing of horns and headlamps are synchronized. After 50 seconds, the vehicle security system returns to the ARMED phase. At this time, if BCM still detects unauthorized access to the vehicle, the system is switched to the ALARM phase again. This RE-ALARM operation is carried out a maximum of 2 times.
To cancel the ALARM operation, refer to the switching condition of No. 12 in the table above.
NOTE:
If a battery terminal is disconnected during the ALARM phase, theft warning alarm stops. But when the battery terminal is reconnected, theft warning alarm is activated again.
PANIC ALARM
Precaution
Diagnosis system (BCM)When reading the manual
This manual includes information for all features
and equipment available on this model. Features
and equipment in your vehicle may vary depending
on model, trim level, options selected, order,
date of production, region or availability. Therefore,
you may find information about features or
eq ...
Push-button ignition switch illumination circuit
Description
Provides the power supply and the ground to control the push-button ignition
switch illumination.
Component function check
1.Check push-button ignition switch illumination operation
Consult active test
Turn the ignition switch ON.
Select engine sw illumi of bcm (intelligen ...
Rear parcel shelf finisher
Exploded View
Seat belt finisher (RH)
Rear parcel shelf finisher
Rear seatback finisher (RH)
Top tether strap anchor finisher
(RH)
Top tether strap anchor finisher
(center)
Rear seatback finisher (LH)
Top tether strap anchor finisher
(LH)
Seat belt finisher (LH)
Seat b ...