Nissan Sentra Service Manual: System
Body control system
Body control system : system description
OUTLINE
BCM CONTROL FUNCTION LIST


Combination switch reading system
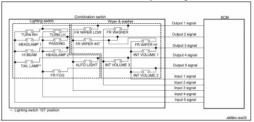
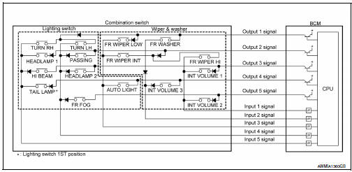
Combination switch reading system : system diagram

Combination switch reading system : system description
OUTLINE
- BCM reads the status of the combination switch (light, turn signal,
wiper and washer) and recognizes the
status of each switch.
- BCM has a combination of 5 output terminals (OUTPUT 1 - 5) and 5 input
terminals (INPUT 1 - 5). It reads a
maximum of 20 switch states.
COMBINATION SWITCH MATRIX
Combination switch circuit
Combination switch INPUT-OUTPUT system list

COMBINATION SWITCH READING FUNCTION
Description
- BCM reads the status of the combination switch at 10 ms intervals
normally.

NOTE:
BCM reads the status of the combination switch at 60 ms intervals when
BCM is controlled at low power
consumption control mode.
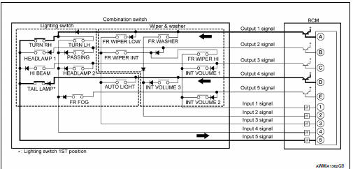
BCM operates as follows and judges the status of the combination switch.
- It operates the transistor on OUTPUT side in the following order:
OUTPUT 1 → 2 → 3 → 4 → 5, and outputs
voltage waveform.
- The voltage waveform of OUTPUT corresponding to the formed circuit is
input into the interface on INPUT
side if any (1 or more) switches are ON.
- It reads this change of the voltage as the status signal of the
combination switch.

Operation Example
In the following operation example, the combination of the status signals of
the combination switch is replaced
as follows: INPUT 1 - 5 to “1 - 5” and OUTPUT 1 - 5 to “A - E”.
Example 1: When a switch (TAIL LAMP) is turned ON
- The circuit between OUTPUT 4 and INPUT 5 is formed when the TAIL LAMP
switch is turned ON.

- BCM detects the combination switch status signal “5D” when the signal of
OUTPUT 4 is input to INPUT 5.
- BCM judges that the TAIL LAMP switch is ON when the signal “5D” is
detected.
Example 2: When some switches (TURN RH, TAIL LAMP) are turned ON
- The circuits between OUTPUT 1 and INPUT 5 and between OUTPUT 4 and INPUT
5 are formed when the
TURN RH switch and TAIL LAMP switch are turned ON.

- BCM detects the combination switch status signal “5AD” when the signals
of OUTPUT 1 and OUTPUT 4 are
input to INPUT 5.
- BCM judges that the TURN RH switch and TAIL LAMP switch are ON when the
signal “5AD” is detected.
Wiper intermittent dial position
Bcm judges the wiper intermittent dial 1 - 7 by the status of int volume 1, 2
and 3 switches.

Note:
For details of wiper intermittent dial position, refer to WW-8, "System
Description".
Signal buffer system
Signal buffer system : system diagram

Signal buffer system : system description
Outline
Bcm has the signal transmission function that outputs/transmits each
input/received signal to each unit.
Signal transmission function list
| Signal name |
Input |
Output |
Description |
- Ignition switch on signal
- Ignition switch signal
|
Engine switch (push switch) |
IPDM E/R (CAN) |
Inputs the push-button ignition
switch (push switch) signal and
transmits the ignition switch status
judged with BCM via CAN
communication. |
| Door switch signal |
Any door switch |
- Combination meter (can)
- Ipdm e/r (can)
|
Inputs the door switch signal
and transmits it via can communication. |
Power consumption control system
POWER CONSUMPTION CONTROL SYSTEM : System Diagram

Power consumption control system : system description
Outline
- Bcm incorporates a power saving control function that reduces the power
consumption according to the
vehicle status.
- Bcm switches the status (control mode) by itself with the power saving
control function. It performs the sleep
request to each unit (ipdm e/r and combination meter) that operates with the
ignition switch off.
Normal mode (wake-up)
- Can communication is normally performed with other units
- Each control with BCM is operating properly
Can communication sleep mode (can sleep)
- Can transmission is stopped
- Control with bcm only is operating
Low power consumption mode (bcm sleep)
- Low power consumption control is active
- CAN transmission is stopped
Low power consumption control with bcm
BCM reduces the power consumption with the following operation in the low
power consumption mode.
- The reading interval of each switch changes from 10 ms interval to 60 ms
interval.
Sleep mode activation
- Bcm receives the sleep-ready signal (ready) from ipdm e/r and
combination meter via can communication.
- BCM transmits the sleep wake up signal (sleep) to each unit when all of
the CAN sleep conditions are fulfilled.
- Each unit stops the transmission of can communication with the sleep
wakeup signal. Bcm is in can communication
sleep mode.
- Bcm is in the low power consumption mode and performs the low power
consumption control when all of the
bcm sleep conditions are fulfilled with can sleep condition.
Sleep condition
| Can sleep condition |
Bcm sleep condition |
- Receiving the sleep-ready signal (ready) from all units
- Ignition switch: OFF
- Vehicle security system alarm and panic alarm: no operation
- Warning lamp: Not operation
- Intelligent key system buzzer: no operation
- Brake switch: off
- Turn signal indicator lamp: No operation
- Exterior lamp: off
- Door lock status: no change
- CONSULT communication status: No communication
- Meter display signal: non-transmission
- Door switch status: no change
- Rear window defogger: OFF
|
- Interior room lamp battery saver: time out
- Rap system: off
- Push-button ignition switch (push switch) illumination: OFF
- Nats: no operation
- Remote keyless entry receiver communication status: no
communication
- Tire pressure monitoring system: Stop
|
Wake-up operation
- Bcm changes from the low power consumption mode to the can communication
sleep mode when the any
of the bcm wake-up conditions are fulfilled. Only the control with bcm is
activated.
- BCM transmits the sleep wake up signal (wake up) to each unit when any
of the CAN wake-up conditions
are fulfilled. It changes from the low power consumption mode or the CAN
communication sleep mode to the
normal mode.
- Each unit starts the transmission of CAN communication with the sleep
wake up signal. In addition, the combination
meter transmits the wake up signal to BCM via CAN communication to report
the CAN communication
start.
| Bcm wake-up condition |
Can wake-up condition |
- Door lock assembly lh (key cylinder switch): lock or unlock
- Door lock switch: OFF→ON
- Door unlock switch: offƒ¸on
- Trunk opener switch: offƒ¸on
- Remote keyless entry receiver: receiving valid keyfob
|
- Receiving the sleep-ready signal (Not-ready) from any units
- Push-button ignition switch (push switch): OFF→ON
- Hazard switch: offƒ¸on
- PASSING switch: OFF→ON, ON→OFF
- Tail lamp switch: offƒ¸on
- Driver door switch: OFF→ON, ON→OFF
- Passenger door switch: off ƒ¸ on, on ƒ¸ off
- Trunk switch: offƒ¸on, onƒ¸off
- Driver door request switch: offƒ¸on
- Passenger door request switch: OFF→ON
- Stop lamp switch 2 signal: ON
- Remote keyless entry receiver: receiving valid keyfob
|
Component parts
Body control system
Body control system : component parts location
BCM (view with instrument panel removed)
Combination switch reading system
Combination switch reading s ...
Common item
COMMON ITEM : CONSULT Function (BCM - COMMON ITEM)
Application item
Consult performs the following functions via can communication with bcm.
Direct diagnostic mode
Descriptio ...
Other materials:
Precaution for Supplemental Restraint System (SRS) "AIR BAG" and "SEAT
BELT PRE-TENSIONER"
The Supplemental Restraint System such as “AIR BAG” and “SEAT BELT PRE-TENSIONER”,
used along
with a front seat belt, helps to reduce the risk or severity of injury to the
driver and front passenger for certain
types of collision. Information necessary to service the system ...
Power supply and ground circuit
Body control system
Body control system : diagnosis procedure
Regarding wiring diagram information, refer to bcs-51, "wiring diagram".
1.Check fuses and fusible link
Check that the following fuses and fusible link are not blown.
Is the fuse blown?
Yes >> replace the blown f ...
Precaution for Supplemental Restraint System (SRS) "AIR BAG" and "SEAT BELT
PRE-TENSIONER"
The Supplemental Restraint System such as “AIR BAG” and “SEAT BELT PRE-TENSIONER”,
used along
with a front seat belt, helps to reduce the risk or severity of injury to the
driver and front passenger for certain
types of collision. Information necessary to service the system ...
© 2014-2026 Copyright b17.nisentra.com