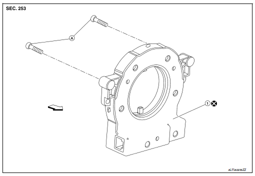
Exploded View

Steering angle sensor
Screw
Front
Removal and Installation
REMOVAL
Remove spiral cable assembly. Refer to SR-16, "Removal and Installation".
Remove the two screws and the steering angle sensor from spiral cable.
INSTALLATION
Installation is in the reverse order of removal.
CAUTION:
Do not reuse steering angle sensor.
Perform the neutral position adjustment of the steering angle sensor. Refer to BRC-54, "Work Procedure".
VDC off switch
SteeringRear drum brake
BRAKE LINING
BRAKE LINING : Inspection
INSPECTION
Brake Lining
Check brake lining wear thickness (A). Check using a scale if
necessary.
Lining wear thickness (A) : Refer to BR-55, "Rear
Drum Brake".
BRAKE DRUM
BRAKE DRUM : Inspection
INSPECTION
Appearance
Check surfac ...
Battery current sensor
Exploded view
Battery current sensor
Current sensor harness connector
Removal and installation
Removal
Loosen the battery terminal nut and disconnect battery negative
terminal. Refer to PG-50, "Exploded
View".
Disconnect the harness connector from current sensor.
...
Automatic anti-glare rearview mirror (if so equipped)
The inside mirror is designed so that it automatically
dims according to the intensity of the headlights
of the vehicle following you. The automatic
anti-glare feature is activated when the ignition
switch is in the ON position.
NOTE:
Do not hang any objects over the sensors
1 or apply gl ...