Nissan Sentra Service Manual: Camshaft
Exploded View

- Camshaft position sensor (EXH)
- O-ring
- Camshaft bracket
- Camshaft (EXH)
- Camshaft sprocket (EXH)
- Camshaft sprocket (INT)
- Camshaft (INT)
- Valve lifter (EXH)
- Valve lifter (INT)
- Signal plate (INT)
- Signal plate (EXH)
- O-ring
- Camshaft position sensor (INT)
A. Refer to INSTALLATION
Removal and Installation
CAUTION:
The rotating direction is shown from the engine front.
REMOVAL
- Remove intake manifold. Refer to EM-27, "Exploded View".
- Remove rocker cover. Refer to EM-12, "Exploded View".
- Remove timing chain. Refer to EM-48, "Exploded View".
NOTE:
Removal of oil pump drive related part is not necessary.
- Remove camshaft position sensor (INT) and camshaft position sensor (EXH)
from camshaft bracket.
CAUTION:
- Handle camshaft position sensor (INT) and camshaft position sensor
(EXH) carefully and avoid
impacts.
- Do not disassemble camshaft position sensor (INT) and camshaft
position sensor (EXH).
- Do not place sensor where it is exposed to magnetism.
- Put painted matching mark (A) on the camshaft sprocket (INT)
(2), camshaft sprocket (EXH) (3) and the camshaft bracket (1)
as shown.
NOTE:
When camshaft alignment is as show in installation, it prevents
the knock pin of the camshaft (INT) from engaging with the
incorrect pin hole when installing the camshaft sprocket (INT).

- Remove camshaft sprockets (INT and EXH).
(1) : Camshaft sprocket (INT)
(2) : Camshaft sprocket (EXH)

CAUTION:
- Do not rotate crankshaft or camshaft while timing chain
is removed. It causes interference between valve and
piston.
- Do not loosen the bolts with securing anything other
than the camshaft hexagonal part.
- Remove camshaft bracket with the following procedure:
- Loosen bolts in reverse order as shown.

- Cut liquid gasket by prying the position (
) shown using suitable
tool, and then remove the camshaft bracket.

CAUTION:
- Do not damage the mating surface.
- Do not use suitable tool anywhere other than shown, sealant
used is more adhesive than previous types when
shipped.
- Remove camshafts.
- Remove valve lifters, if necessary
- Identify installation positions, and store them without mixing them up.
- Remove signal plate from camshaft, if necessary.
INSTALLATION
CAUTION:
Do not reuse O-rings.
- Install valve lifters.
- Install them in the original positions.
- Install camshafts.
- Clean camshaft journal to remove any foreign material.
- Distinguish between the intake and the exhaust by looking at
the different shapes of the front and rear ends of the camshaft
or using the identification colors (A) and (B).
(1) : Camshaft (EXH)
(2) : Camshaft (INT)


- Install camshafts so that camshaft dowel pins (A) on the front
side are positioned as shown.
NOTE:
Though camshaft does not stop at the positions as shown, for
the placement of cam nose, it is generally accepted camshaft
is placed for the same direction as shown.

- Install camshaft bracket with the following procedure:
- Remove foreign material completely from camshaft bracket backside and
from cylinder head installation
face.
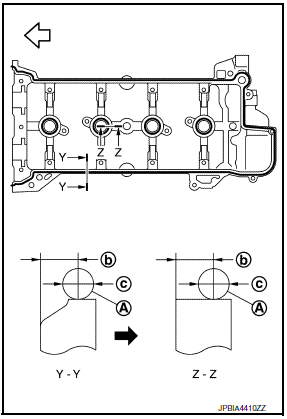
- Apply liquid gasket (A) to camshaft bracket as shown.
(b) : Plug hole inner wall
(c) : 3.4 - 4.4 mm (0.134 - 0.173 in)
Use Genuine Silicone RTV Sealant, or equivalent. Refer to
GI-21, "Recommended Chemical Products and Sealants".
CAUTION:
- Installation should be done within 5 minutes after applying
liquid gasket
- Do not fill the engine with oil for at least 30 minutes after
the components are installed to allow the sealant to cure.

- Tighten bolts of camshaft brackets in the following steps, in
numerical order as shown.
- There are two types of bolts. Refer to the following for locating
bolts.
![M6 bolts [thread length: 57.5 mm (2.264 in)]](images/books/349/4/index15.jpg)
M6 bolts [thread length: 57.5 mm (2.264 in)]
: 13, 14, and 15
M6 bolts [thread length: 35.0 mm (1.378 in)]
: Except the above
- Tighten bolts to the specified torque in three steps in the order as
shown.
Step 1 : 1.96 NВ·m (0.20 kg-m, 17 in-lb)
Step 2 : 5.88 NВ·m (0.60 kg-m, 52 in-lb)
Step 3 : 9.5 NВ·m (0.97 kg-m, 84 in-lb)
CAUTION:
After tightening bolts of camshaft bracket, be sure to wipe off
excessive liquid gasket from the
mating surface of cylinder head.
- Install the camshaft sprocket to the camshaft with the following
procedure.
- When the camshaft sprocket (INT) (2) and camshaft sprocket
(EXH) (3) is installed, refer to the paint matching marks (A)
made during removal. Securely align the knock pin and the pin
hole, and then install them.

- Tighten bolts in the following steps.
- Secure the hexagonal part of camshaft using suitable tool to
tighten bolt.
CAUTION:
Check the tightening angle using Tool (B). Do not judge by
visual inspection.
Step 1 : 35.0 NВ·m (3.6 kg-m, 26 ft-lb)
Step 2 : 30.5 degrees rotation
Tool number : KV10112100 (BT-8653-A)

(1) : Camshaft sprocket
(A) : Camshaft hexagonal part
- Install timing chain. Refer to EM-48, "Exploded View".
- Inspect and adjust valve clearance. Refer to EM-20, "Inspection and
Adjustment".
- Installation of remaining components is in the reverse order of removal.
Inspection
INSPECTION AFTER REMOVAL
Camshaft Runout
- Put V-block on a precise flat table, and support No. 2 and 5 journal of
camshaft.
CAUTION:
Do not support No. 1 journal (on the side of camshaft sprocket) because
it has a different diameter
from the other four locations.
- Set suitable tool (A) vertically to No. 3 journal.
- Turn camshaft to one direction with hands, and measure the
camshaft runout on dial indicator. (Total indicator reading)
Standard and Limit : Refer to EM-119, "Camshaft".

- If it exceeds the limit, replace camshaft.
Camshaft Cam Height
- Measure the camshaft cam height using suitable tool (A).
Standard and Limit : Refer to EM-119, "Camshaft".

- If it exceeds the limit, replace camshaft.
Camshaft Journal Oil Clearance
CAMSHAFT JOURNAL OUTER DIAMETER
Measure the outer diameter of camshaft journal using suitable tool
(A).
Standard : Refer to EM-119, "Camshaft".
If it exceeds the limit, replace camshaft.

CAMSHAFT BRACKET INNER DIAMETER
- Tighten camshaft bracket bolts with specified torque. Refer to EM-60, "Removal
and Installation".
- Measure the inner diameter of camshaft bracket using suitable tool
(A).
(B) : Measuring direction of inner diameter
Standard : Refer to EM-119, "Camshaft".
- If it exceeds limit, replace camshaft bracket.

CAMSHAFT JOURNAL OIL CLEARANCE
- (Oil clearance) = (Camshaft bracket inner diameter) – (Camshaft journal
diameter)
Standard and Limit : Refer to EM-119, "Camshaft".
- If it exceeds the limit, replace camshaft or cylinder head, or both.
NOTE:
Camshaft bracket cannot be replaced as a single part, because it is
machined together with cylinder head.
Replace cylinder head assembly.
Camshaft End Play
- Install camshaft in cylinder head. Refer to EM-60, "Removal and
Installation".
- Install suitable tool in thrust direction on front end of camshaft.
Read the end play on suitable tool (A) when camshaft is moved
forward/backward (in direction to axis).
Standard and Limit : Refer to EM-119, "Camshaft".

- Measure the following parts if out of the standard.
- Dimension (A) for groove of cylinder head No. 1 journal
Standard : 4.000 - 4.030 mm (0.1575 - 0.1587 in)
- Dimension (B) for camshaft flange
Standard : 3.877 - 3.925 mm (0.1526 - 0.1545 in)
- Refer to the standards above, and then replace camshaft and/
or cylinder head.

Camshaft Sprocket Runout
- Put V-block on precise flat table, and support No. 2 and 5 journals of
camshaft.
CAUTION:
Do not support No. 1 journal (on the side of camshaft sprocket) because
it has a different diameter
from the other four locations.
- Measure the camshaft sprocket runout using suitable tool (A).
(Total indicator reading)
Limit : Refer to EM-119, "Camshaft".
- If it exceeds the limit, replace camshaft sprocket.

Valve Lifter
Check if surface of valve lifter has any wear or cracks.
- If anything above is found, replace valve lifter. Refer to EM-119,
"Camshaft".

Valve Lifter Clearance
VALVE LIFTER OUTER DIAMETER
- Measure the outer diameter of valve lifter using suitable tool (A).
Standard : Refer to EM-119, "Camshaft".

VALVE LIFTER HOLE DIAMETER
Measure the inner diameter of valve lifter hole of cylinder head using
suitable tool (A).
Standard : Refer to EM-119, "Camshaft".
VALVE LIFTER CLEARANCE
- (Valve lifter clearance) = (Valve lifter hole diameter) – (Valve lifter
outer diameter)
Standard : Refer to EM-119, "Camshaft".
- If out of the standard, referring to the each standard of valve lifter
outer diameter and valve lifter hole diameter, replace either or both
valve lifter and cylinder head.

INSPECTION AFTER INSTALLATION
Inspection of Camshaft Sprocket (INT), (EXH) Oil Groove
WARNING:
Check when engine is cold so as to prevent burns by the splashing
engine oil.
CAUTION:
Perform this inspection only when DTC P0011 or P0014 is detected in
self-diagnostic results of CONSULT
and it is directed according to inspection procedure of EC section. Refer to
EC-171, "Diagnosis
Procedure" (P0011) or EC-174, "Diagnosis Procedure" (P0014).
- Check engine oil level. Refer to LU-7, "Inspection".
- Perform the following procedure so as to prevent the engine from being
unintentionally started while
checking.
- Release the fuel pressure. Refer to EC-143, "Work Procedure".
- Remove intake manifold. Refer to EM-27, "Exploded View".
- Disconnect ignition coil and injector harness connectors.
- Support the bottom surface of engine using a transmission jack, and then
remove the engine mounting
bracket (RH) and engine mounting insulator (RH). Refer to EM-82, "M/T :
Exploded View".
- Remove intake or exhaust valve timing control solenoid valve. Refer to
EM-48, "Exploded View".
- Lift the front side of the engine with a jack base to remove intake or
exhaust valve timing control solenoid
valve.
- Clean the mounting area of intake or exhaust valve timing control
solenoid valve, and then insert a clean
shop cloth with no oil adhesion into the oil hole of the cylinder head.
- Install engine mounting insulator (RH) and engine mounting bracket (RH).
(After the removal of intake or
exhaust valve timing control solenoid valve and insertion of a shop cloth
into the oil hole.)
- Perform cranking to check that engine oil comes out from the oil hole (mounting
hole of intake or exhaust
valve timing control solenoid valve) of cylinder head.
- Regarding the engine oil check, judge it by the amount of oil adhered to
the shop cloth inserted into the
oil hole.
WARNING:
- Do not insert fingers into the oil hole.
- Be careful not to touch rotating parts (drive belt, idler
pulleys and crankshaft pulley, etc.).
CAUTION:
- Do not perform cranking without installing the engine mounting
insulator (RH) and engine
mounting bracket (RH).
- Prevent splashing by using a shop cloth so as to prevent the
worker from injury from engine oil
and so as to prevent engine oil contamination.
- Prevent splashing by using a shop cloth so as to prevent engine
oil from being splashed to
engine and vehicle. Especially, be careful not to apply engine oil to rubber
parts of drive belt,
engine mounting insulator, etc. Wipe engine oil off immediately if it is
splashed.
- Perform the following inspection if engine oil does not come out from
intake or exhaust valve timing control
solenoid valve oil hole of the cylinder head.
- Clean oil groove between oil strainer and intake valve timing control
solenoid valve. Refer to LU-6,
"Engine Lubrication System Schematic".
- Remove components between intake or exhaust valve timing control
solenoid valve and camshaft
sprocket (INT) or (EXH), and then check each oil groove for clogging.
- Clean oil groove if necessary. Refer to LU-6, "Engine Lubrication System
Schematic".
- Installation of remaining components is in the reverse order of removal.
Exploded View
Timing chain slack guide
Timing chain tensioner
Timing chain
Oil pump drive chain
Crankshaft sprocket
Crankshaft key
Oil pump sprocket
Front cover
O-ring
O-ring ...
Valve oil seal : Removal and Installation
REMOVAL
Rotate crankshaft, and set piston whose valve oil seal is to be removed
to TDC. This will prevent valve
from dropping into cylinder.
CAUT ...
Other materials:
Both side headlamps (lo) are not
turned on
Description
The headlamps (both sides) do not turn on in any lighting switch setting.
Diagnosis Procedure
1.Check combination switch (lighting and turn signal switch)
Check the combination switch (lighting and turn signal switch). Refer to
BCS-72, "Symptom Table" (with Intelligent
...
Bluetooth® streaming audio without Navigation System (if so equipped)
If you have a compatible Bluetooth® audio device
that is capable of playing audio files, the
device can be connected to the vehicle’s audio
system so that the audio files on the device play
through the vehicle’s speakers.
Connecting Bluetooth® audio
To connect your Bluetooth® audio devi ...
Road wheel tire assembly
Exploded View
Removal and Installation
REMOVAL
Remove wheel nuts.
Remove wheel and tire.
INSTALLATION
Installation is in the reverse order of removal.
Adjustment
BALANCING WHEELS (ADHESIVE WEIGHT TYPE)
Preparation Before Adjustment
Remove inner and outer balance weights from the ...
© 2014-2026 Copyright b17.nisentra.com