Nissan Sentra Service Manual: Oil seal
Valve oil seal : Removal and Installation
REMOVAL
- Rotate crankshaft, and set piston whose valve oil seal is to be removed
to TDC. This will prevent valve
from dropping into cylinder.
CAUTION:
When rotating crankshaft, be careful to avoid scarring front cover with
timing chain.
- Remove camshafts. Refer to EM-60, "Exploded View".
- Remove valve lifters. Refer to EM-60, "Exploded View".
- Remove valve collet, valve spring retainer, and valve spring
using Tools
Tool number (A) : KV1016200 (J-26336-A)
Tool number (B) : KV10109220 ( — )
Tool number (C) : KV10115900 (J-26336-20)

CAUTION:
- Do not damage valve lifter holes.
- Install Tool (A) in the center of valve spring retainer to
press it.
(1) : Valve spring retainer
(A) : Attachment
Tool number : KV10115900 (J-26336-20)

- Remove valve spring retainer and valve spring (with valve spring seat).
CAUTION:
Do not remove valve spring seat from valve spring.
- Remove valve oil seal using Tool (A).
Tool number : KV10107902 (J-38959)

INSTALLATION
- Apply new engine oil to valve oil seal joint surface and seal lip.
- Press in valve oil seal to the height (H) shown using Tool (A).
Height (H) : 15.1 - 15.7 mm (0.594 - 0.618 in)
Tool number : KV10115600 (J-38958)

- Installation of remaining components is in the reverse order of removal.
Front oil seal : Removal and Installation
REMOVAL
- Remove front fender protector (RH). Refer to EXT-27, "FENDER PROTECTOR :
Exploded View".
- Remove drive belt. Refer to EM-15, "Exploded View".
- Remove crankshaft pulley. Refer to EM-48, "Exploded View".
- Remove front oil seal using suitable tool.
CAUTION:
Do not damage front cover and crankshaft.
INSTALLATION
- Apply new engine oil to new front oil seal joint surface and seal lip.
- Install front oil seal so that each seal lip is oriented as shown.
(A) : Dust seal lip
(B) : Oil seal lip

- Press-fit front oil seal using a suitable tool with outer diameter 57 mm
(2.24 in) and inner diameter 45
mm (1.77 in).
Within 0.3 mm (0.012 in) toward engine front (crankshaft
pulley side)
Within 0.5 mm (0.020 in) toward engine rear (crankshaft
sprocket side)
CAUTION:
- Be careful not to damage front cover and crankshaft.
- Press-fit oil seal straight to avoid causing burrs or tilting.
- Installation of remaining components is in the reverse order of removal.
Rear oil seal : Removal and Installation
REMOVAL
- Remove engine and transaxle assembly. Refer to EM-86, "CVT : Exploded
View" (CVT models) or TM-28,
"Exploded View" (M/T models).
- Remove clutch cover and clutch disc (M/T models). Refer to CL-17, "Exploded
View".
- Remove drive plate (CVT models) or flywheel (M/T models). Refer to
EM-94, "Exploded View".
- Remove rear oil seal using suitable tool.
CAUTION:
Do not damage crankshaft and cylinder block.
INSTALLATION
- Apply the liquid gasket lightly to entire outside area of new rear oil
seal.
Use Genuine Silicone RTV Sealant, or equivalent. Refer to GI-21, "Recommended
Chemical Products
and Sealants".
- Install rear oil seal so that each seal lip is oriented as shown.
(A) : Dust seal lip
(B) : Oil seal lip

- Press-fit rear oil seal using suitable tool (A) with outer diameter
115 mm (4.53 in) and inner diameter 90 mm (3.54 in).
CAUTION:
- Do not damage crankshaft and cylinder block.
- Press-fit oil seal straight to avoid causing burrs or tilting.
- Do not touch grease applied onto oil seal lip.

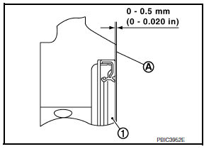
- Press in rear oil seal (1) to the position as shown.
(A) : Rear end surface of cylinder block

- Installation of the remaining components is in the reverse order of
removal
Exploded View
Camshaft position sensor (EXH)
O-ring
Camshaft bracket
Camshaft (EXH)
Camshaft sprocket (EXH)
Camshaft sprocket (INT)
Camshaft (INT)
Valve lifter (EXH)
Valve lif ...
Exploded View
Cylinder head assembly
Cylinder head bolt
Cylinder head gasket
Refer to INSTALLATION
Removal and Installation
REMOVAL
Release fuel pressure. Refer to EC-143, ...
Other materials:
VDC/TCS/ABS
Symptom Table
If ABS warning lamp and SLIP indicator lamp turn ON, perform
self-diagnosis.
NOTE:
1: The ABS does not operate when the speed is 10 km/h
(6 MPH) or less.
2: Under the following conditions, ABS is activated
and vibration is felt when brake pedal is lightly depr ...
Diagnosis and repair work flow
Work flow
OVERALL SEQUENCE
DETAILED FLOW
1.INTERVIEW THE CUSTOMER FOR THE SYMPTOM
Interview the customer for the symptom (the condition and the environment
when the incident/malfunction
occurs).
>> GO TO 2.
2.CHECK SYMPTOM
Check the symptom from the customer information.
> ...
Description
This vehicle has both new standard based on ISO* and previous standard
bolts/nuts. There are some differences
between these two types of bolts/ nuts; shape of the head, grade of strength,
hexagonal width across
flats and the standard tightening torque.
For guidance in discriminating, refer ...
© 2014-2026 Copyright b17.nisentra.com