Nissan Sentra Service Manual: Removal and installation
Audio unit
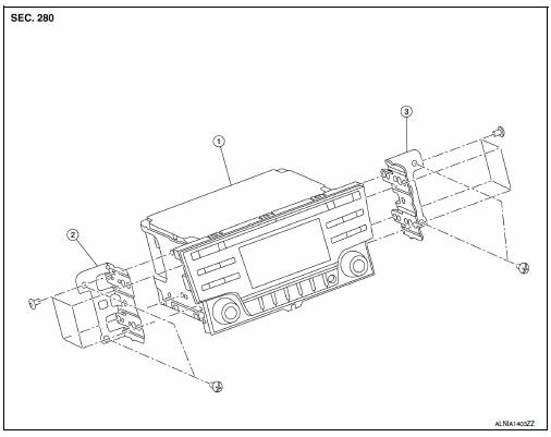
Exploded view

- Audio unit
- Audio unit bracket (LH)
- Audio unit bracket (RH)
Removal and installation
Removal
- Disconnect the negative battery terminal. Refer to pg-50, "removal and
installation (battery)".
- Remove cluster lid c lower. Refer to ip-20, "removal and installation -
cluster lid c lower".
- Remove the audio unit screws, then pull out the audio unit.
- Disconnect the harness connectors from the audio unit and remove.
Installation
Installation is in the reverse order of removal.
Front tweeter
Removal and Installation
Removal
- Remove the front pillar finisher. Refer to int-24, "front pillar
finisher : removal and installation".
- Disconnect the harness connector (b) from the front tweeter
speaker.
- Remove the front tweeter speaker screw (A) from the front
tweeter speaker (1) and remove.

Installation
Installation is in the reverse order of removal.
Front door speaker
Removal and installation
Removal
- Remove the front door finisher. Refer to int-15, "removal and
installation".
- Remove the front door speaker screws (b).
- Disconnect the harness connector (a) from the front door
speaker (1) and remove.

Installation
Installation is in the reverse order of removal.
Rear door speaker
Removal and Installation
Removal
- Remove the rear door finisher. Refer to int-19, "removal and
installation".
- Remove the rear door speaker screws (a).
- Disconnect the harness connector (B) from the rear door
speaker (1) and remove.

Installation
Installation is in the reverse order of removal.
Rear woofer
Removal and Installation
Removal
- Remove the rear parcel shelf finisher. Refer to int-33, "removal and
installation".
- Remove the rear woofer screws (a).
- Disconnect the harness connector from the rear woofer (1) and
remove.

Installation
Installation is in the reverse order of removal.
Steering switch
Exploded View

- Steering wheel rear finisher
- Steering wheel
- Steering switches
Pawl
Removal and Installation
Removal
- Remove the steering wheel. Refer to st-10, "removal and installation".
- Release the pawls on the steering wheel rear finisher and remove.
- Remove the steering switches screws (a).
- Remove the steering switches (1) from steering wheel (2).

Installation
Installation is in the reverse order of removal.
Antenna feeder
Location of Antenna

- M112
- M107
- Antenna feeder
- M141
- M140
- Satellite antenna
- M504
- M503
- M502
- M500
- M501
Window Antenna Repair
Element check
- Attach probe circuit tester (ohm setting) to antenna terminal on
each side.

- When measuring continuity, wrap tin foil around the top of
probe. Then, press the foil against the wire with your finger.

- If an element is broken, no continuity will exist.

- To locate a break, move probe along element. Tester indication
will change abruptly when probe passes the broken point.

Repair equipment
- Conductive silver composition (dupont no. 4817 Or equivalent)
- Ruler 30 cm (11.8 In) long
- Drawing pen
- Heat gun
- Alcohol
- Cloth
Repairing procedure
- Wipe broken heat wire and its surrounding area clean with a
cloth dampened in alcohol.
- Apply a small amount of conductive silver composition to tip of
drawing pen.
Shake silver composition container before use.
- Place ruler on glass along broken line. Deposit conductive silver
composition on break with drawing pen. Slightly overlap existing
heat wire on both sides [preferably 5 mm (0.20 in)] of the break.

- After repair has been completed, check repaired wire for continuity.
This check should be conducted 10 minutes after silver
composition is deposited.
Do not touch repaired area while test is being conducted.

- Apply a constant stream of hot air directly to the repaired area
for approximately 20 minutes with a heat gun. A minimum distance
of 3 cm (1.2 In) should be kept between repaired area and
hot air outlet.
If a heat gun is not available, let the repaired area dry for 24
hours.

Antenna amp
Removal and installation
Removal
- Remove the rear pillar finisher (rh). Refer to int-29, "rear pillar
finisher : removal and installation".
- Disconnect the antenna amp. Harness connector (a) from the
rear window glass.
- Disconnect the harness connector (c) from the antenna amp.
(1).
- Remove the antenna amp. screw (B) and the antenna amp. (1).

Installation
Installation is in the reverse order of removal.
Window antenna
Removal and installation
The window antenna is serviced as an assembly with the filament. Refer to
def-47, "inspection and repair".
Bose speaker amp
Removal and installation
Removal
- Open the trunk lid.
- Remove the Bose speaker amp. screws (A).
- Disconnect the harness connectors (b) from the bose speaker
amp. (1) And remove.

Installation
Installation is in the reverse order of removal.
Usb connector
Removal and installation
Removal
- Remove the center console rear finisher cover. Refer to tm-253, "exploded
view".
- Release the pawls and remove the usb connector (1) from the
center console rear finisher cover.
Pawl
Front

Installation
Installation is in the reverse order of removal.
Satellite radio antenna
Removal and installation
Removal
- Lower the headlining at the rear. Refer to int-38, "exploded view".
- Remove the satellite radio antenna nut (a).
- Disconnect the harness connector (b) from the satellite radio
antenna (1) and remove.

Installation
Installation is in the reverse order of removal.
Bluetooth control unit
Removal and Installation
Removal
- Remove the glove box assembly. Refer to IP-22, "Removal and Installation".
- Remove the bluetooth control unit screws (a) and position aside
the bluetooth control unit assembly (1).
- Disconnect the bluetooth control unit connectors (c) and
release the harness retainer (b) from the bluetooth control unit
bracket.
- Release the harness clip (d) from the bluetooth control unit
bracket and remove the bluetooth control unit (1).

- Remove the bluetooth control unit bracket screws (a), then
remove the bluetooth control unit (2) from the bluetooth control
unit bracket (1).

Installation
Installation is in the reverse order of removal.
Microphone
Removal and installation
Removal
- Remove the front room/map lamp assembly. Refer to INL-52, "Removal and
Installation".
- Disconnect the microphone connector (A) from the front room/
map lamp assembly (2).
- Release the microphone pawls, then remove the microphone
(1).
Pawl

Installation
Installation is in the reverse order of removal.
Audio system
Symptom table
Related to audio
Related to hands-free phone
Before performing diagnosis, confirm that the cellular phone being used
by the customer is compatible with ...
Other materials:
Power supply and ground circuit
Combination meter
COMBINATION METER : Diagnosis Procedure
Regarding Wiring Diagram information, refer to MWI-28, "Wiring Diagram".
1.Check fuses
Check that the following fuses are not blown.
Is the fuse blown?
Yes >> replace the blown fuse after repairing the affected circu ...
Unit disassembly and assembly
TORQUE CONVERTER AND CONVERTER HOUSING OIL SEAL
Exploded View
Transaxle assembly
Torque converter
Converter housing oil seal
: Apply CVT Fluid
Disassembly
Remove transaxle assembly.
Remove torque converter.
CAUTION:
Do not damage the bushing on the inside of torque con ...
Glove box lamp
Removal and installation
Warning:
Do not touch bulb while it is lit or right after being turned off.
Burning may result.
Caution:
Do not touch glass surface of the bulb with bare hands or allow oil or
grease to get on it to prevent
damage to bulb.
Removal
Remove the glove box assembly ...
В© 2014-2026 Copyright b17.nisentra.com