Nissan Sentra Service Manual: 6M/T
6M/T : Exploded View (LH)

- Circular clip
- Dust shield
- Slide joint housing
- Snap ring
- Spider assembly
- Boot band
- Boot
- Shaft
- Damper band
- Dynamic damper
- Circular clip
- Joint sub-assembly
Wheel side
6M/T : Disassembly and Assembly (LH)
DISASSEMBLY (WHEEL SIDE)
CAUTION:
When mounting the drive shaft in a vise, always use aluminum or copper
plates between the vise
and the drive shaft.
- Remove the boot bands and slide the boot back.
- Screw a suitable tool (A) into the joint sub-assembly screw part
to a length of 30 mm (1.18 in) or more. Support the drive shaft
with one hand and pull out the joint sub-assembly from the shaft.
CAUTION:
- Align the suitable tool and the drive shaft. Remove the
joint sub-assembly by pulling firmly and uniformly.
- If the joint sub-assembly cannot be removed after five or
more attempts, replace the shaft and the joint sub-assembly
as a set.
- Remove the circular clip from the shaft.
- Remove the outer boot from the shaft.
- Inspect the components. Refer to FAX-24, "6M/T : Inspection".

DISASSEMBLY (TRANSAXLE SIDE)
- Mount the drive shaft in a vise.
CAUTION:
When mounting the drive shaft in a vise, always use aluminum or copper
plates between the vise
and the drive shaft.
- Remove the boot bands and slide the boot back.
- Put matching marks on the slide joint housing and on the shaft.
CAUTION:
Use paint or an equivalent for matching marks. Do not scratch the
surfaces.
- Remove the slide joint housing from the shaft.
- Put matching marks (A) on the spider assembly and on the
shaft.
CAUTION:
Use paint or an equivalent for matching marks. Do not
scratch the surfaces.

- Remove the snap ring (1).
- Remove the spider assembly from the shaft.
- Remove the inner boot from the shaft.

- Remove the dust shield from the slide joint housing.
- Remove the circular clip from the slide joint housing.
- Clean the old grease from the slide joint housing with paper waste.
- Remove the damper bands.
- Remove the dynamic damper from the shaft.
- Inspect the components. Refer to FAX-24, "6M/T : Inspection".
ASSEMBLY (WHEEL SIDE)
- Clean the old grease from the joint sub-assembly using paper waste.
- Fill the serration slot on the joint sub-assembly (1) with NISSAN
genuine grease or equivalent until the serration slot and ball
groove become full to the brim.
CAUTION:
After applying the grease, use paper waste to wipe off the
grease that has oozed out.
NOTE:
Always check with the Parts Department for the latest parts
information.

- Install the outer boot and the boot bands to the shaft.
CAUTION:
- Wrap the serration on the shaft with tape (A) to protect the
boot from damage.
- Do not reuse the boot.
- Do not reuse the boot bands.
- Remove the tape wrapped around the serration on the shaft.

- Position the circular clip (1) on the groove at the shaft edge.
CAUTION:
Do not reuse the circular clip.
NOTE:
A drive joint inserter is recommended when installing the circular
clip.
- Align both center axles with the shaft edge and the joint subassembly.
Assemble the shaft with the joint sub-assembly while
holding the circular clip.

- Install the joint sub-assembly to the shaft using a suitable tool.
CAUTION:
- Make sure the circular clip is properly positioned on the
groove of the joint sub-assembly.
- Confirm that the joint sub-assembly is correctly engaged
while rotating the drive shaft.

- Apply the specified amount of grease to the inside of the large diameter
side of the boot.
NOTE:
Always check with the Parts Department for the latest parts information.
Grease amount : Refer to FAX-49, "Drive Shaft".
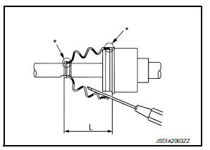
- Install the boot securely into the grooves (indicated by “*” marks)
as shown.
CAUTION:
If there is grease on the boot mounting surfaces (indicated
by “*” marks) on the shaft or the joint sub-assembly, the
boot may come off. Remove all grease from the boot
mounting surfaces.
- To prevent the deformation of the boot, adjust the boot installation
length to the specified value by inserting a suitable tool into
the inside of the boot from the large diameter side of the boot
and discharging the inside air.
Boot installation length (L) : Refer to FAX-49, "Drive
Shaft".

CAUTION:
- The boot may break if the boot installation length is not correct.
- Be careful not to touch the inside of the boot with the tip of the
suitable tool.
- Install new large and small boot bands securely using Tool (A).
CAUTION:
Do not reuse the boot bands.
Tool number (A): KV40107300 ( – )

- Secure the boot band so that dimension (A) meets the specification.
Dimension (A) : Refer to FAX-49, "Drive Shaft".
- Attempt to rotate the boot to check whether or not the boot
bands are securing the boot. If the boot is not secure, remove
the boot bands, reposition the boot, and install new boot bands.

ASSEMBLY (TRANSAXLE SIDE)
- Install the dynamic damper using the following procedure:
- Install the dynamic damper to the shaft.
- Secure the dynamic damper in the correct position with new
damper bands.
CAUTION:
Do not reuse the damper bands.
Dimension (A) : Refer to FAX-49, "Drive Shaft".

- Install the inner boot and the boot bands to the shaft.
CAUTION:
- Wrap the serration on the shaft with tape (A) to protect the
boot from damage.
- Do not reuse the boot.
- Do not reuse the boot bands.
- Remove the tape wrapped around the serration on the shaft.

- Align the matching mark (A) on the spider assembly (1) with the
matching mark on the shaft (2). Install the spider assembly to
the shaft with the chamfer (B) facing the shaft.

- Secure the spider assembly onto the shaft with the snap ring (1).
CAUTION:
Do not reuse the snap ring.
- Apply the appropriate amount of grease (Genuine NISSAN
Grease or equivalent) to the spider assembly and to the sliding
surface.
NOTE:
Always check with the Parts Department for the latest parts
information.
- Install the slide joint housing onto the spider assembly and pack
the balance of the specified amount grease (Genuine NISSAN
Grease or equivalent) into the slide joint housing.

Grease amount : Refer to FAX-49, "Drive Shaft".
- Align the matching marks on the slide joint housing and on the shaft.
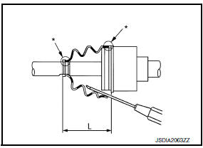
- Install the boot securely into the grooves (indicated by “*” marks)
as shown.
CAUTION:
If there is grease on the boot mounting surfaces (indicated
by “*” marks) on the shaft or the joint sub-assembly, the
boot may come off. Remove all grease from the boot
mounting surfaces.
- To prevent the deformation of the boot, adjust the boot installation
length to the specified value by inserting a suitable tool into
the inside of the boot from the large diameter side of the boot
and discharging the inside air.
Boot installation length (L) : Refer to FAX-49, "Drive Shaft".

CAUTION:
- The boot may break if the boot installation length is not correct.
- Be careful not to touch the inside of the boot with the tip of the
suitable tool.
- Install the boot bands securely.
CAUTION:
Do not reuse the boot bands.
- Put boot band in the groove on drive shaft boot. Then fit pawls into
holes to temporary installation.
NOTE:
For the large diameter side, fit projection (A) and guide slit (B) at
first.
- Pinch projection on the band with suitable pliers to tighten band.

- Insert the tip of band into the lower part of pawl (marked with
dotted circle) as shown.
- Attempt to rotate the boot to check whether or not the boot
bands are securing the boot. If the boot is not secure, remove
the boot bands, reposition the boot, and install new boot bands.

- Install the dust shield to the slide joint housing.
CAUTION:
Do not reuse the dust shield.
- Install the circular clip to the slide joint housing.
CAUTION:
Do not reuse the circular clip.
6M/T : Exploded View (RH)

- Joint sub-assembly
- Circular clip
- Boot band
- Boot
- Shaft
- Damper band
- Dynamic damper
- Boot band
- Boot
- Spider assembly
- Snap ring
- Slide joint housing
- Dust shield
- Support bearing
- Snap ring
- Dust shield
Wheel side
6M/T : Disassembly and Assembly (RH)
DISASSEMBLY (WHEEL SIDE)
- Mount the drive shaft in a vise.
CAUTION:
When mounting the drive shaft in a vise, always use aluminum or copper
plates between the vise
and the drive shaft.
- Remove the boot bands and slide the boot back.
- Screw a suitable tool (A) into the joint sub-assembly screw part
to a length of 30 mm (1.18 in) or more. Support the drive shaft
with one hand and pull out the joint sub-assembly from the shaft
CAUTION:
- Align the suitable tool and the drive shaft. Remove the
joint sub-assembly by pulling firmly and uniformly.
- If the joint sub-assembly cannot be removed after five or
more attempts, replace the shaft and the joint sub-assembly
as a set.
- Remove the circular clip from the shaft.
- Remove the outer boot from the shaft.
- Inspect the components. Refer to FAX-24, "6M/T : Inspection".

DISASSEMBLY (TRANSAXLE SIDE)
- Mount the drive shaft in a vise.
CAUTION:
When mounting the drive shaft in a vise, always use aluminum or copper
plates between the vise
and the drive shaft.
- Remove the boot bands and slide the boot back.
- Put matching marks on the slide joint housing and on the shaft.
CAUTION:
Use paint or an equivalent for matching marks. Do not scratch the
surfaces.
- Remove the slide joint housing from the shaft.
- Put matching marks (A) on the spider assembly and on the
shaft.
CAUTION:
Use paint or an equivalent for matching marks. Do not
scratch the surfaces.

- Remove the snap ring (1).
- Remove the spider assembly from the shaft.
- Remove the inner boot from the shaft.

- Remove the damper bands.
- Remove the dynamic damper from the shaft.
- Remove the support bearing using the following procedure:
- Remove the dust shields from the slide joint housing.

- Remove the snap ring (1).

- Press out the support bearing from the slide joint housing.
- Remove the dust shield from the slide joint housing.
- Clean the old grease from the slide joint housing with paper
waste.
- Inspect the components. Refer to FAX-24, "6M/T : Inspection".

ASSEMBLY (WHEEL SIDE)
- Clean the old grease from the joint sub-assembly using paper waste.
- Fill the serration slot on the joint sub-assembly (1) with NISSAN
genuine grease or equivalent until the serration slot and ball
groove become full to the brim.
CAUTION:
After applying the grease, use paper waste to wipe off the
grease that has oozed out.
NOTE:
Always check with the Parts Department for the latest parts
information.

- Install the outer boot and the boot bands to the shaft.
CAUTION:
- Wrap the serration on the shaft with tape (A) to protect the
boot from damage.
- Do not reuse the boot.
- Do not reuse the boot bands.
- Remove the tape wrapped around the serration on the shaft.

- Position the circular clip (1) on the groove at the shaft edge.
CAUTION:
Do not reuse the circular clip.
NOTE:
A drive joint inserter is recommended when installing the circular
clip.
- Align both center axles with the shaft edge and the joint subassembly.
Assemble the shaft with the joint sub-assembly while
holding the circular clip.

- Install the joint sub-assembly to the shaft using a suitable tool.
CAUTION:
- Make sure the circular clip is properly positioned on the
groove of the joint sub-assembly.
- Confirm that the joint sub-assembly is correctly engaged
while rotating the drive shaft.

- Apply the specified amount of grease to the inside of the large diameter
side of the boot.
NOTE:
Always check with the Parts Department for the latest parts information.
Grease amount : Refer to FAX-49, "Drive Shaft".
- Install the boot securely into the grooves (indicated by “*” marks)
as shown.
CAUTION:
If there is grease on the boot mounting surfaces (indicated
by “*” marks) on the shaft or the joint sub-assembly, the
boot may come off. Remove all grease from the boot
mounting surfaces.
- To prevent the deformation of the boot, adjust the boot installation
length to the specified value by inserting a suitable tool into
the inside of the boot from the large diameter side of the boot
and discharging the inside air.
Boot installation length (L) : Refer to FAX-49, "Drive
Shaft".

CAUTION:
- The boot may break if the boot installation length is not correct.
- Be careful not to touch the inside of the boot with the tip of the
suitable tool.
- Install new large and small boot bands securely using Tool (A).
CAUTION:
Do not reuse the boot bands.
Tool number (A): KV40107300 ( – )

- Secure the boot band so that dimension (A) meets the specification.
Dimension (A) : Refer to FAX-49, "Drive Shaft".
- Attempt to rotate the boot to check whether or not the boot
bands are securing the boot. If the boot is not secure, remove
the boot bands, reposition the boot, and install new boot bands.

ASSEMBLY (TRANSAXLE SIDE)
- Install the support bearing using the following procedure:
- Install the dust shield to the slide joint housing.
CAUTION:
Do not reuse the dust shield.
- Press the support bearing (1) onto the slide joint housing using
the suitable tool (A).
CAUTION:
Do not reuse the support bearing.

- Install the snap ring (1).
CAUTION:
Do not reuse the snap ring.

- Install the dust shields.
CAUTION:
Do not reuse the dust shield.

- Install the dynamic damper using the following procedure:
- Install the dynamic damper to the shaft.
- Secure the dynamic damper in the correct position with new
damper bands.
CAUTION:
Do not reuse the damper bands.
Dimension (A) : Refer to FAX-49, "Drive Shaft".

- Install the inner boot and the boot bands to the shaft.
CAUTION:
- Wrap the serration on the shaft with tape (A) to protect the
boot from damage.
- Do not reuse the boot.
- Do not reuse the boot bands.
- Remove the tape wrapped around the serration on the shaft.

- Align the matching mark (A) on the spider assembly (1) with the
matching mark on the shaft (2). Install the spider assembly to
the shaft with the chamfer (B) facing the shaft.

- Secure the spider assembly onto the shaft with the snap ring (1).
CAUTION:
Do not reuse the snap ring.
- Apply the appropriate amount of grease (Genuine NISSAN
Grease or equivalent) to the spider assembly and to the sliding
surface.
NOTE:
Always check with the Parts Department for the latest parts
information.
- Install the slide joint housing onto the spider assembly and pack
the balance of the specified amount grease (Genuine NISSAN
Grease or equivalent) into the slide joint housing.

Grease amount : Refer to FAX-49, "Drive Shaft".
- Align the matching marks on the slide joint housing and on the shaft.
- Install the boot securely into the grooves (indicated by “*” marks)
as shown.
CAUTION:
If there is grease on the boot mounting surfaces (indicated
by “*” marks) on the shaft or the joint sub-assembly, the
boot may come off. Remove all grease from the boot
mounting surfaces.
- To prevent the deformation of the boot, adjust the boot installation
length to the specified value by inserting a suitable tool into
the inside of the boot from the large diameter side of the boot
and discharging the inside air.
Boot installation length (L) : Refer to FAX-49, "Drive
Shaft".

CAUTION:
- The boot may break if the boot installation length is not correct.
- Be careful not to touch the inside of the boot with the tip of the
suitable tool.
- Install the boot bands securely
CAUTION:
Do not reuse the boot bands.
- Put boot band in the groove on drive shaft boot. Then fit pawls into
holes to temporary installation
NOTE:
For the large diameter side, fit projection (A) and guide slit (B) at
first.
- Pinch projection on the band with suitable pliers to tighten band.

- Insert the tip of band into the lower part of pawl (marked with
dotted circle) as shown.
- Attempt to rotate the boot to check whether or not the boot
bands are securing the boot. If the boot is not secure, remove
the boot bands, reposition the boot, and install new boot bands.

EXCEPT 6M/T : Exploded View
Circular clip
Dust shield
Slide joint housing
Snap ring
Spider assembly
Boot band
Boot
Shaft
Damper band
Dynamic damper
Circular clip
Joint s ...
Other materials:
List of voice commands
Main Menu
“Call”
“Phonebook”
“Recent Calls”
“Connect Phone”
When you press and release the
button on
the steering wheel, you can choose from the
commands on the Main Menu. The following
pages describe these commands and the commands
in each sub-menu.
Remember to wai ...
General maintenance
During the normal day-to-day operation of the
vehicle, general maintenance should be performed
regularly as prescribed in this section. If
you detect any unusual sounds, vibrations or
smells, be sure to check for the cause or have a
NISSAN dealer do it promptly. In addition, you
should notify ...
Reporting safety defects
For USA
If you believe that your vehicle has a defect
which could cause a crash or could
cause injury or death, you should immediately
inform the National Highway Traffic
Safety Administration (NHTSA) in addition
to notifying NISSAN.
If NHTSA receives similar complaints, it
may open an inv ...
© 2014-2026 Copyright b17.nisentra.com