
CAUTION
Never use a fuse of a higher or lower amperage rating than specified on the fuse box cover. This could damage the electrical system or cause a fire.
If any electrical equipment does not operate, check for an open fuse.
NOTE:
The fuse box is located on the driver’s side of the instrument panel.

If a new fuse also opens, have the electrical system checked and repaired by a NISSAN dealer.
Extended storage switch

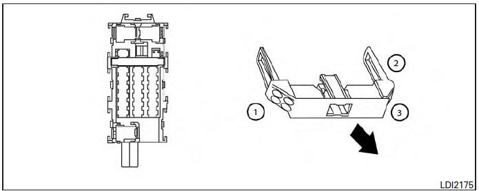
If any electrical equipment does not operate, remove the extended storage switch and check for an open fuse.
NOTE:
The extended storage switch is used for long term vehicle storage. Even if the extended storage switch is broken it is not necessary to replace it. Replace only the open fuse in the switch with a new fuse.
How to replace the extended storage switch:
Engine compartment
Battery replacementPrecaution for Supplemental Restraint System (SRS) "AIR BAG" and "SEAT
BELT PRE-TENSIONER"
The Supplemental Restraint System such as “AIR BAG” and “SEAT BELT PRE-TENSIONER”,
used along
with a front seat belt, helps to reduce the risk or severity of injury to the
driver and front passenger for certain
types of collision. Information necessary to service the system ...
Towing a trailer
Do not tow a trailer with your vehicle.
Flat towing
Towing your vehicle with all four wheels on the
ground is sometimes called flat towing. This
method is sometimes used when towing a vehicle
behind a recreational vehicle, such as a motor
home.
CAUTION
Failure to follow these guidelines c ...
On board refueling vapor recovery(ORVR)
Component Function Check
1.CHECK ORVR FUNCTION
Check whether the following symptoms are present.
Fuel odor from EVAP canister is strong
Cannot refuel/Fuel odor from the fuel filler opening is strong while
refueling.
Are any symptoms present?
YES >> Proceed to EC-468, "Diagn ...