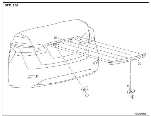
Exploded view

Clip
Pawl
Removal and installation

License lamp finisher

Release clips of license lamp finisher from inside of trunk lid, and then remove.
: Clip

INSTALLATION
Installation is in the reverse order of removal.
CAUTION:
When installing license lamp finisher, check that clips are placed in body panel holes, then press them in.
Door parting seal
Rear air spoilerContinuously Variable Transmission (CVT) (if so equipped)
The ignition lock is designed so that the ignition
switch cannot be turned to the LOCK position
until the shift lever is moved to the P (Park)
position.
When moving the ignition switch to the
LOCK position, make sure the shift lever is in
the P (Park) position.
When removing the key ...
Emission control information label
The emission control information label is attached
to the underside of the hood as shown.
Tire and loading information label
The cold tire pressure is shown on the Tire and
Loading Information label. The label is located as
shown.
Air conditioner specification label
The air condit ...
P0441 EVAP Control system
DTC Logic
DTC DETECTION LOGIC
NOTE:
If DTC P0441 is displayed with other DTC such as P2122, P2123, P2127,
P2128 or P2138, first perform
trouble diagnosis for other DTC.
In this evaporative emission (EVAP) control system, purge flow occurs during
non-closed throttle conditions.
Purge volu ...