Nissan Sentra Service Manual: Fuel injector and fuel tube
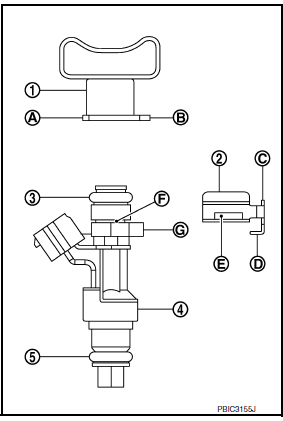
Exploded View

- Bracket
- Fuel tube bracket
- Fuel feed tube
- Quick connector cap
- Fuel tube
- O-ring (black)
- Fuel injector
- O-ring (green)
- Injector clip
CAUTION:
Do not remove or disassemble parts unless instructed.
Removal and Installation
WARNING:
- Put a “CAUTION: FLAMMABLE” sign in the workshop.
- Be sure to work in a well ventilated area and furnish workshop
with a CO2 fire extinguisher.
- Do not smoke while servicing fuel system. Keep open flames and
sparks away from the work area.
REMOVAL
- Remove engine room cover. Refer to EM-24, "Exploded View".
- Release the fuel pressure. Refer to EC-143, "Work Procedure".
- Remove intake manifold. Refer to EM-27, "Exploded View".
- Disconnect quick connector with the following procedure. Disconnect
fuel feed tube (1) from fuel tube (3).
NOTE:
There is no fuel return path.
- Remove quick connector cap (engine side) (2) from quick connector
connection.

- With the sleeve (B) side of Tool (A) facing quick connector,
install Tool (A) onto fuel tube.
- Insert Tool (A) into quick connector (2) until sleeve (B) contacts
and goes no further. Hold quick connector release on that position
(C).
(D) : Insert and retain

CAUTION:
Inserting quick connector release hard will not disconnect
quick connector. Hold quick connector release where it
contacts and goes no further.
Draw and pull out quick connector straight from fuel tube (1).
CAUTION:
- Pull quick connector (E) holding position (C).
- Do not pull with lateral force applied. O-ring inside quick
connector may be damaged.
- Prepare container and cloth beforehand as fuel will leak out.
- Avoid fire and sparks.
- Keep parts away from heat source. Especially, be careful when
welding is performed around
them.
- Do not expose parts to battery electrolyte or other acids.
- Do not bend or twist connection between quick connector and fuel
feed tube during installation/
removal.
- To keep the connecting portion clean and to avoid damage
and foreign materials, cover them completely with
plastic bags, etc. (A) or something similar.

- Disconnect harness connector from fuel injector.
- Loosen fuel tube bracket nuts and end bolts and remove fuel tube
brackets.
- Remove fuel tube and fuel injector assembly.
- Loosen bolts in the reverse order as shown.
CAUTION:
- When removing, be careful to avoid any interference with fuel
injector.
- Use a shop cloth to absorb any fuel leaks from fuel tube.

- Remove fuel injector from fuel tube with the following procedure:
- Open and remove clip (2)
- Remove fuel injector (3) from fuel tube (1) by pulling straight.

CAUTION:
- Be careful with remaining fuel that may leak from fuel
tube.
- Be careful not to damage fuel injector nozzle during
removal.
- Do not bump or drop fuel injector.
- Do not disassemble fuel injector.
INSTALLATION
- Install O-rings to fuel injector.
CAUTION:
- Do not reuse O-ring.
- Upper and lower O-rings are different. Be careful not to confuse
them.
Fuel tube side : Black
Nozzle side : Green
- Handle O-ring with bare hands. Do not wear gloves.
- Lubricate O-ring with new engine oil.
- Do not clean O-ring with solvent.
- Check that O-ring and its mating part are free of foreign material.
- When installing O-ring, be careful not to scratch it with tool or
fingernails. Also be careful not to
twist or stretch O-ring. If O-ring is stretched while installing, do not
insert it quickly into fuel
tube.
- Insert O-ring straight onto fuel injector. Do not decenter or twist
it.
- Install fuel injector to fuel tube with the following procedure:
- Insert clip (2) into clip mounting groove (F) on fuel injector (4).
(3) : O-ring (black)
(5) : O-ring (green)
- Insert clip so that protrusion (G) of fuel injector matches cutout
(D) of clip.
CAUTION:
- Do not reuse clip. Replace it with a new one.
- Be careful to keep clip from interfering with O-ring. If
interference occurs, replace O-ring.
- Insert fuel injector into fuel tube (1) with clip attached.
- Insert it while matching it to the axial center.
- Insert fuel injector so that protrusion (B) of fuel tube matches
cut-out (C) of clip.
- Check that fuel tube flange (A) is securely locked in flange
groove (E) on clip.

- Check that installation is complete by checking that fuel injector
does not rotate or come off.
- Set fuel tube and fuel injector assembly at its position for
installation on cylinder head.
CAUTION:
For installation, be careful not to interfere with fuel injector
nozzle.
- Install fuel tube and injector assembly onto cylinder head.
- Tighten bolts in the order as shown.

- Connect harness connector to fuel injector.
- Install fuel tube bracket.
- Connect fuel feed tube with the following procedure.
- Check for damage or foreign material on the fuel tube and quick
connector.
- Apply new engine oil lightly to area around the top of fuel tube.
- Align center to insert quick connector straightly into fuel tube.
- Insert quick connector (1) to fuel tube until the top spool (3) on
fuel tube is inserted completely and the 2nd level spool (D) is
positioned slightly below quick connector bottom end.
(B) : Insertion direction
(E) : Fitted condition

CAUTION:
- Hold (A) position when inserting fuel tube into quick
connector.
- Carefully align center to avoid inclined insertion to prevent
damage to O-ring inside quick connector.
- Insert until you hear a “click” sound and actually feel the
engagement.
- To avoid misidentification of engagement with a similar sound, be
sure to perform the next
step.
- Pull quick connector hard by hand holding position. Check it is
completely engaged (connected) so that it
does not come out from fuel tube.
- Install quick connector cap (engine side) (2) to quick connector
connection.
(1) : Fuel feed hose
(3) : Fuel tube

- Install quick connector cap (engine side) with the side arrow
facing quick connector side (fuel feed tube side).
CAUTION:
- Check that the quick connector and fuel tube are
securely engaged with the quick connector cap (engine
side) mounting groove.
- Quick connector may not be connected correctly if
quick connector cap (engine side) cannot be installed easily. Remove the
quick connector cap
(engine side), and then check the connection of quick connector again.
- Install fuel feed hose to hose clamp.
- Installation of remaining components is in the reverse order of removal.
Inspection
INSPECTION AFTER INSTALLATION
Check on Fuel Leakage
- Turn ignition switch “ON” (with the engine stopped). With fuel pressure
applied to fuel piping, check there
are no fuel leaks at connection points. Refer to.
NOTE:
Use mirrors for checking at points out of clear sight.
- Start the engine. With engine speed increased, check again that there
are no fuel leaks at connection
points.
- Perform procedures for “Throttle Valve Closed Position Learning” after
finishing repairs. Refer to EC-
139, "Description".
- If electric throttle control actuator is replaced, perform procedures
for “Idle Air Volume Learning” after
finishing repairs. Refer to EC-140, "Description".
CAUTION:
Do not touch the engine immediately after stopping, as the engine
becomes extremely hot.
Exploded View
O-ring
Oil pan (upper)
Oil level gauge guide
O-ring
Oil level gauge
Oil pump drive chain
Crankshaft sprocket
Oil pump sprocket
Oil pump chain tensioner
Oil pump
...
Exploded View
Ignition coil
Spark plug
Rocker cover
Removal and Installation
REMOVAL
Remove the engine room cover. Refer to EM-24, "Exploded View".
Disconnect the harne ...
Other materials:
Hood
Pull the hood lock release handle 1 located
below the instrument panel until the hood
springs up slightly.
Locate the lever 2 in between the hood and
grille and push the lever sideways with your
fingertips.
Raise the hood 3 .
Remove the support rod 4 and insert it into
the slo ...
C1140 Actuator relay system
DTC Logic
DTC DETECTION LOGIC
DTC
Display Item
Malfunction detected condition
Possible causes
C1140
ACTUATOR RLY
When a malfunction is detected in actuator relay.
Harness or connector
ABS actuator and electric unit
(control unit)
Fusible link ...
Precaution for Supplemental Restraint System (SRS) "AIR BAG" and "SEAT
BELT PRE-TENSIONER"
The Supplemental Restraint System such as “AIR BAG” and “SEAT BELT PRE-TENSIONER”,
used along
with a front seat belt, helps to reduce the risk or severity of injury to the
driver and front passenger for certain
types of collision. Information necessary to service the system ...
© 2014-2026 Copyright b17.nisentra.com