Nissan Sentra manuals

Nissan Sentra Service Manual: Front drive shaft boot

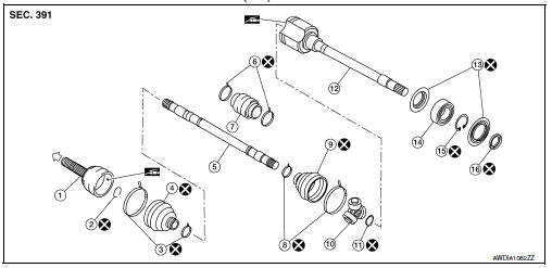
Exploded View

(LH)
(LH)

  1. Circular clip
  2. Dust shield
  3. Slide joint housing
  4. Snap ring
  5. Spider assembly
  6. Boot band
  7. Boot
  8. Shaft
  9. Damper band
  10. Dynamic damper
  11. Circular clip
  12. Joint sub-assembly

Wheel side


(RH) 6M/T
(RH) 6M/T

  1. Joint sub-assembly
  2. Circular clip
  3. Boot band
  4. Boot
  5. Shaft
  6. Damper band
  7. Dynamic damper
  8. Boot band
  9. Boot
  10. Spider assembly
  11. Snap ring
  12. Slide joint housing
  13. Dust shield
  14. Support bearing
  15. Snap ring
  16. Dust shield

Wheel side


(RH) Except 6M/T
(RH) Except 6M/T

  1. Joint sub-assembly
  2. Circular clip
  3. Boot band
  4. Boot
  5. Shaft
  6. Damper band
  7. Dynamic damper
  8. Spider assembly
  9. Snap ring
  10. Slide joint housing
  11. Dust shield
  12. Circular clip

Wheel sideWheel side


Front wheel hub
Exploded View Steering knuckle Splash guard Wheel stud Wheel hub and bearing Disc brake rotor Wheel hub lock nut Nut retainer Cotter pin Removal and Installation Remove t ...

Wheel side
WHEEL SIDE : Removal and Installation REMOVAL Remove the wheel and tire using power tool. Refer to WT-47, "Exploded View". Remove the brake caliper torque member bolts, leaving the ...

Other materials:

General Precautions
Do not operate the engine for an extended period of time without proper exhaust ventilation. Keep the work area well ventilated and free of any inflammable materials. Special care should be taken when handling any inflammable or poisonous materials, such as gasoline, refrigerant gas, etc. Wh ...

Basic inspection
Inspection and adjustment Additional service when replacing control unit (bcm) Additional service when replacing control unit (bcm) : description Before replacement When replacing BCM, save or print current vehicle specification with CONSULT configuration before replacement. Note: If “ ...

Dtc/circuit diagnosis
Power supply and ground circuit Audio unit Audio unit : diagnosis procedure Regarding wiring diagram information, refer to av-25, "wiring diagram". 1.Check fuse Check that the following fuses are not blown. Are the fuses blown? Yes >> replace the blown fuse after repairing t ...

© 2014-2026 Copyright b17.nisentra.com