Nissan Sentra Service Manual: Wheel side
WHEEL SIDE : Removal and Installation
REMOVAL
- Remove the wheel and tire using power tool. Refer to WT-47, "Exploded
View".
- Remove the brake caliper torque member bolts, leaving the brake hose
attached. Position the brake caliper
aside with wire. Refer to BR-41, "BRAKE CALIPER ASSEMBLY : Removal and
Installation".
CAUTION:
Do not depress the brake pedal while the brake caliper is removed.
- Put alignment marks (A) on the disc brake rotor and on the
wheel hub and bearing. Remove the disc brake rotor.
CAUTION:
Do not drop the disc brake rotor.

- Remove the wheel sensor bolt. Position the wheel sensor and the wheel
sensor harness aside. Refer to
BRC-106, "FRONT WHEEL SENSOR : Removal and Installation".
- Remove the cotter pin from the drive shaft.
- Remove the nut retainer from the wheel hub lock nut.
- Hold the wheel hub and bearing using Tool (A). Loosen the
wheel hub lock nut.
Tool number (A): KV40104000 ( — )

- Using a piece of wood and a suitable tool, tap on the wheel hub
lock nut to disengage the drive shaft from the wheel hub and
bearing.
CAUTION:
NOTE:
Use a suitable puller if the drive shaft cannot be separated from
the wheel hub and bearing even after performing the above procedure.

- Remove the wheel hub lock nut.
- Remove the nut and bolt from the lower ball joint. Disconnect the
steering knuckle from the transverse
link.
- Remove the drive shaft from the wheel hub and bearing.
- Remove the boot bands.
- Separate the boot from the joint sub-assembly.
- Screw a suitable tool (A) into the joint sub-assembly screw part
to a length of 30 mm (1.18 in) or more. Support the drive shaft
with one hand and pull out the joint sub-assembly from the shaft.
CAUTION:
- Align the suitable tool and the drive shaft. Remove the
joint sub-assembly by pulling firmly and uniformly.
- If the joint sub-assembly cannot be pulled out, try after
removing the drive shaft from the vehicle. Refer to FAX-
30, "6M/T : Disassembly and Assembly (LH)".

- Remove the circular clip (1) from the shaft.
- Remove the outer boot from the shaft.

INSTALLATION
- Clean the old grease from the joint sub-assembly using paper waste.
- Fill the serration slot on the joint sub-assembly (1) with NISSAN
genuine grease or equivalent until the serration slot and ball
groove become full to the brim.
CAUTION:
After applying the grease, use paper waste to wipe off the
grease that has oozed out.
NOTE:
Always check with the Parts Department for the latest parts
information.
- Install the outer boot and the boot bands to the shaft.

CAUTION:
- Wrap the serration on the shaft with tape to protect the
boot from damage.
- Do not reuse the boot.
- Do not reuse the boot bands.
- Remove the tape wrapped around the serration on the shaft.
- Position the circular clip (1) on the groove at the shaft edge.
CAUTION:
Do not reuse the circular clip.
NOTE:
A drive joint inserter is recommended when installing the circular
clip.
- Align with the shaft and the joint sub-assembly. Assemble the
shaft with the joint sub-assembly while holding the circular clip.

- Install the joint sub-assembly (1) to the shaft using a suitable
tool.
CAUTION:
- Make sure the circular clip is properly positioned on the
groove of the joint sub-assembly.
- Confirm that the joint sub-assembly is correctly engaged
while rotating the drive shaft.

- Apply the specified amount of grease to the inside of the large diameter
side of the boot.
NOTE:
Always check with the Parts Department for the latest parts information.
Grease amount : Refer to FAX-49, "Drive Shaft".
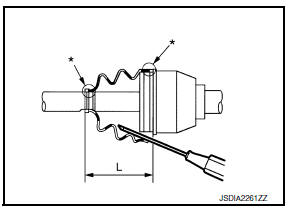
- Install the boot securely into the grooves (indicated by “*” marks)
as shown.
CAUTION:
If there is grease on the boot mounting surfaces (indicated
by “*” marks) on the shaft or the joint sub-assembly, the
boot may come off. Remove all grease from the boot
mounting surfaces.
- To prevent the deformation of the boot, adjust the boot installation
length to the specified value by inserting a suitable tool into
the inside of the boot from the large diameter side of the boot
and discharging the inside air.

Boot installation length (L) : Refer to FAX-49, "Drive
Shaft".
CAUTION:
- The boot may break if the boot installation length is not correct.
- Be careful not to touch the inside of the boot with the tip of the
suitable tool.
- Install new large and small boot bands securely using Tool (A).
CAUTION:
Do not reuse the boot bands.
Tool number (A): KV40107300 ( – )

- Secure the boot band so that dimension (A) meets the specification.
Dimension (A) : Refer to FAX-49, "Drive Shaft".
- Attempt to rotate the boot to check whether or not the boot
bands are securing the boot. If the boot is not secure, remove
the boot bands, reposition the boot, and install new boot bands.

- Clean the mating surfaces of the wheel hub lock nut and the wheel hub
assembly.
CAUTION:
Do not apply lubricating oil to these mating surfaces.
- Clean the mating surfaces of the joint sub-assembly and the
wheel hub and bearing. Apply Molykote M77 lubricant to the surface
(A) of the joint sub-assembly.
CAUTION:
Apply lubricant to cover the entire flat mating surface of the
joint sub-assembly.
NOTE:
Always check with the Parts Department for the latest parts
information.
Amount of lubricant : Refer to FAX-49, "Drive
Shaft"

- Install the drive shaft to the wheel hub and bearing. Temporarily
install, but do not tighten, the wheel hub
lock nut.
- Install the transverse link to the steering knuckle with the nut and
bolt. Refer to FAX-8, "Exploded View".
- Hold the wheel hub and bearing using Tool. Tighten the wheel hub lock
nut.
CAUTION:
- Since the drive shaft is assembled by press-fitting, use a torque
wrench to tighten the wheel hub
lock nut. Do not use a power tool.
- Too much torque causes axle noise. Too little torque causes wheel
bearing looseness. Tighten
the wheel hub lock nut to the specification.
Tool number (A): KV40104000 ( — )
- Install the nut retainer (2).
- Install the cotter pin (1). Securely bend the cotter pin to prevent
rattles.
CAUTION:
Do not reuse the cotter pin.

- Install the wheel sensor, the wheel sensor bolt, and the wheel sensor
harness. Refer to BRC-106,
"FRONT WHEEL SENSOR : Removal and Installation".
- Align the matching marks (A) on the disc brake rotor and on the
wheel hub and bearing. Install the disc brake rotor.
CAUTION:
Do not drop the disc brake rotor.

- Remove the wire from the brake caliper. Install the brake caliper and
the brake caliper torque member
bolts. Refer to BR-41, "BRAKE CALIPER ASSEMBLY : Removal and Installation".
CAUTION:
Do not twist the brake hose.
- Install the wheel and tire. Refer to WT-47, "Adjustment".
- Complete the inspection. Refer to FAX-17, "Inspection".
Exploded View
(LH)
Circular clip
Dust shield
Slide joint housing
Snap ring
Spider assembly
Boot band
Boot
Shaft
Damper band
Dynamic damper
Circular clip
Joint sub-assembly ...
TRANSAXLE SIDE : Removal and Installation
Remove boot after drive shaft is removed from the vehicle.
For drive shaft removal and installation, follow the instructions bellow.
6M/T: Refer to FAX ...
Other materials:
The key warning does not sound
(without intelligent key)
Description
The key warning chime does not sound, when all of the following conditions
are fulfilled.
Key inserted into the key cylinder (key switch signal on).
Ignition switch is in acc or off (ignition switch signal off).
Driver side door is open (driver side door switch on)
Diagnosi ...
Removal and installation
Combination meter
Exploded view
Combination meter
Front cover
Removal and installation
Removal
Remove cluster lid a. Refer to ip-19, "removal and installation".
Remove the screws from the combination meter.
Remove the combination meter.
Disconnect the comb ...
Positive crankcase ventilation
Inspection
1.CHECK PCV VALVE
With engine running at idle, remove PCV valve from rocker cover. A
properly working valve makes a hissing noise as air passes through
it. A strong vacuum should be felt immediately when a finger is
placed over valve inlet.
Is the inspection result normal?
YES &g ...
© 2014-2026 Copyright b17.nisentra.com