Nissan Sentra Service Manual: System description
Component parts
Body control system
BODY CONTROL SYSTEM : Component Parts Location

- Bcm (view with instrument panel removed)
Combination switch reading system
COMBINATION SWITCH READING SYSTEM : Component Parts Location

- BCM (view with combination meter
removed)
- Combination switch (lighting and
turn signal) (with fog lamps)
- Combination switch (lighting and
turn signal) (without fog lamps)
- Combination switch (wiper and
washer)
Power consumption control system
Power consumption control system : component parts location

- Ipdm e/r
- Bcm (view with instrument panel removed)
- Combination meter
System
Body control system
Body control system : system description
Outline
Bcm function list

Combination switch reading system
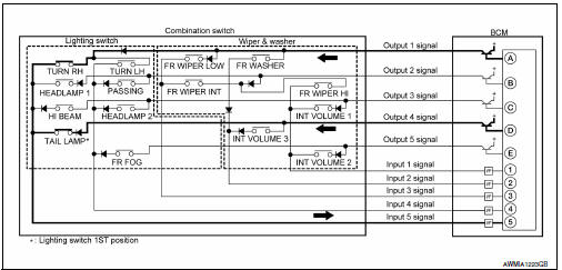
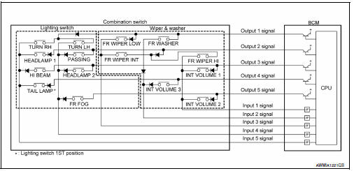
COMBINATION SWITCH READING SYSTEM : System Diagram

COMBINATION SWITCH READING SYSTEM : System Description
OUTLINE
- BCM reads the status of the combination switch (light, turn signal,
wiper and washer) and recognizes the
status of each switch.
- BCM has a combination of 5 output terminals (OUTPUT 1 - 5) and 5 input
terminals (INPUT 1 - 5). It reads a
maximum of 20 switch states.
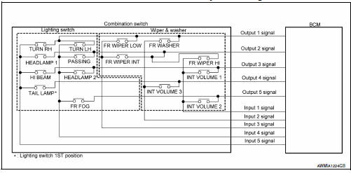
COMBINATION SWITCH MATRIX
Combination switch circuit
Combination switch INPUT-OUTPUT system list


COMBINATION SWITCH READING FUNCTION
Description
- BCM reads the status of the combination switch at 10 ms intervals
normally.

NOTE:
BCM reads the status of the combination switch at 60 ms intervals when BCM
is controlled at low power
consumption control mode.
BCM operates as follows and judges the status of the combination
switch.
- It operates the transistor on OUTPUT side in the following order:
OUTPUT 1 → 2 → 3 → 4 → 5, and outputs
voltage waveform.
- The voltage waveform of OUTPUT corresponding to the formed circuit is
input into the interface on INPUT
side if any (1 or more) switches are ON.
- It reads this change of the voltage as the status signal of the
combination switch.

Operation Example
In the following operation example, the combination of the status signals of
the combination switch is replaced
as follows: INPUT 1 - 5 to “1 - 5” and OUTPUT 1 - 5 to “A - E”.
Example 1: When a switch (TAIL LAMP) is turned ON
- The circuit between OUTPUT 4 and INPUT 5 is formed when the TAIL LAMP
switch is turned ON.

- BCM detects the combination switch status signal “5D” when the signal of
OUTPUT 4 is input to INPUT 5.
- BCM judges that the TAIL LAMP switch is ON when the signal “5D” is
detected.
Example 2: When some switches (TURN RH, TAIL LAMP) are turned ON
- The circuits between OUTPUT 1 and INPUT 5 and between OUTPUT 4 and INPUT
5 are formed when the
TURN RH switch and TAIL LAMP switch are turned ON.

- BCM detects the combination switch status signal “5AD” when the signals
of OUTPUT 1 and OUTPUT 4 are
input to INPUT 5.
- BCM judges that the TURN RH switch and TAIL LAMP switch are ON when the
signal “5AD” is detected.
Signal buffer
Signal buffer : system diagram

Signal buffer : system description
OUTLINE
BCM has the signal transmission function that outputs/transmits each
input/received signal to each unit.
SIGNAL TRANSMISSION FUNCTION LIST

Power consumption control system
Power consumption control system : system diagram

Power consumption control system : system description
OUTLINE
- BCM incorporates a power saving control function that reduces the power
consumption according to the
vehicle status.
- BCM switches the status (control mode) by itself with the power saving
control function. It performs the sleep
request to each unit (IPDM E/R and combination meter) that operates with the
ignition switch OFF.
Normal mode (wake-up)
- CAN communication is normally performed with other units
- Each control with BCM is operating properly
CAN communication sleep mode (CAN sleep)
- CAN transmission is stopped
- Control with BCM only is operating
Low power consumption mode (BCM sleep)
- Low power consumption control is active
- CAN transmission is stopped
LOW POWER CONSUMPTION CONTROL WITH BCM
BCM reduces the power consumption with the following operation in the low
power consumption mode.
- The reading interval of the switches changes from 10 ms interval to 60
ms interval.
Sleep mode activation
- BCM receives the sleep-ready signal (ready) from IPDM E/R and
combination meter via CAN communication.
- BCM transmits the sleep wake up signal (sleep) to each unit when all of
the CAN sleep conditions are fulfilled.
- Each unit stops the transmission of CAN communication with the sleep
wake up signal. BCM is in CAN communication
sleep mode
- BCM is in the low power consumption mode and performs the low power
consumption control when all of the
BCM sleep conditions are fulfilled with CAN sleep condition.
Sleep condition
| CAN sleep condition |
BCM sleep condition |
- Receiving the sleep-ready signal (ready) from all units
- Ignition switch: OFF
- Panic alarm: No operation
- Warning chime: No operation
- Stop lamp switch: OFF
- Turn signal indicator lamp: No operation
- Exterior lamp: OFF
- Door lock status: No change
- CONSULT communication status: No communication
- Door switch status: No change
- Rear window defogger: OFF
- Driver door lock status: No change
- Key switch status: No change
|
- Interior room lamp battery saver: Time out
- RAP system: OFF
- Nissan Vehicle Immobilizer System (NVIS) - NATS: No operation
- Remote keyless entry receiver communication status: No
communication
|
Wake-up operation
- BCM transmits sleep wake up signal (wake up) to each unit when any
condition listed below is established,
and then goes into normal mode from low power consumption mode.
- Each unit starts transmissions with CAN communication by receiving sleep
wake up signals. Each unit transmits
wake up signals to BCM with CAN communication to convey the start of CAN
communication.
Wake-up condition

Precaution for supplemental restraint system (srs) "air bag" and "seat
belt pre-tensioner"
The supplemental restraint system such as “air bag” and “seat belt pre- ...
Common item
Common item : consult function (bcm - common item)
APPLICATION ITEM
CONSULT performs the following functions via CAN communication with BCM.
Direct Diagnostic Mode
Descriptio ...
Other materials:
Component parts
Component Parts Location
BCM (view under instrument panel
on the left side of the vehicle)
Front power window motor LH (RH
similar) (view with front door finisher
removed)
Rear power window motor LH (RH
similar) (view with rear door finisher
removed)
Main power window and do ...
Pandora® audio (if so equipped)
The vehicle’s audio system is capable of playing
audio streaming through a compatible, USBconnected
audio device using the Pandora® music
service.
Connecting a device for use with
Pandora® audio
Devices capable of streaming Pandora® audio
can be connected to the vehicle’s audio system
...
Tcm branch line circuit
Diagnosis Procedure
1.Check connector
Turn the ignition switch off.
Disconnect the battery cable from the negative terminal.
Check the following terminals and connectors for damage, bend and loose
connection (unit side and connector
side).
TCM
Harness connector f50
Harness co ...
© 2014-2026 Copyright b17.nisentra.com