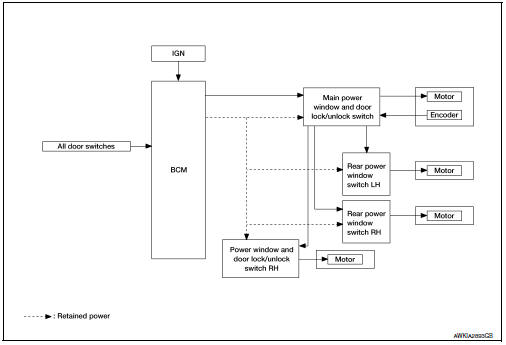
System Diagram
FRONT POWER WINDOW LH ANTI-PINCH SYSTEM

System Description
MAIN POWER WINDOW AND DOOR LOCK/UNLOCK SWITCH INPUT/OUTPUT SIGNAL CHART
| Item | Input signal to main power window and door lock/unlock switch | Main power window and door lock/unlock switch function | Actuator |
| Encoder | Encoder pulse signal | Power window control | Front power window motor |
| Main power window and door lock/unlock switch | Front power window motor LH UP/ DOWN signal | ||
| Power window and door lock/unlock switch RH | Front power window motor RH UP/ DOWN signal | ||
| BCM | RAP signal | Rear power window motor | |
| Rear power window switch | Rear power window motor UP/DOWN signal |
POWER WINDOW OPERATION
POWER WINDOW AUTO-OPERATION (FRONT LH)
RETAINED POWER OPERATION
Retained power function cancel conditions
POWER WINDOW LOCK FUNCTION
Ground circuit inside main power window and door lock/unlock switch shuts off when power window lock switch is ON. This inhibits power window switch operation except with the main power window and door lock/ unlock switch.
ANTI-PINCH OPERATION (FRONT LH)
OPERATION CONDITION
NOTE:
Depending on environment and driving conditions, if a similar impact or load is applied to the door glass, it may lower.
Fail-safe
FAIL-SAFE CONTROL
Switches to fail-safe control when malfunction is detected in the encoder signal that detects UP/DOWN speed and direction of door glass. Switches to fail-safe control when an error beyond the regulation value is detected between the fully closed position and the actual position of the glass.
| Malfunction | Malfunction condition |
| Pulse sensor malfunction | When only one side of pulse signal is being detected for more than the specified value. |
| Both pulse sensors malfunction | When both pulse signals have not been detected for more than the specified value during glass open/close operation. |
| Pulse direction malfunction | When the pulse signal that is detected during glass open/close operation detects the opposite condition of power window motor operating direction. |
| Glass recognition position malfunction 1 | When it detects the error between glass fully closed position in power window switch memory and actual fully closed position during glass open/close operation is more than the specified value. |
| Glass recognition position malfunction 2 | When it detects pulse count more that the value of glass full stroke during glass open/close operation. |
| Malfunction of not yet updated closed position of glass | When glass open/close operation is continuously performed without fully closing more that the specified value (approximately 10 strokes). |
It changes to condition before initialization and the following functions do not operate when switched to failsafe control:
Perform initial operation to recover when switched to fail-safe mode. However, it switches back to fail-safe control when malfunction is found in power window switch or in motor.
Diagnosis system (bcm) (with intelligent key system)
Common item
COMMON ITEM : CONSULT Function (BCM - COMMON ITEM)
APPLICATION ITEM
CONSULT performs the following functions via CAN communication with BCM.
| Direct Diagnostic Mode | Description |
| ECU identification | The BCM part number is displayed. |
| Self Diagnostic Result | The BCM self diagnostic results are displayed. |
| Data Monitor | The BCM input/output data is displayed in real time. |
| Active Test | The BCM activates outputs to test components. |
| Work support | The settings for BCM functions can be changed. |
| Configuration |
|
| CAN DIAG SUPPORT MNTR | The result of transmit/receive diagnosis of CAN communication is displayed. |
SYSTEM APPLICATION
BCM can perform the following functions.

Retained pwr
RETAINED PWR : CONSULT Function (BCM - RETAINED PWR)
DATA MONITOR

Diagnosis system (bcm) (without intelligent key system)
Common item
COMMON ITEM : CONSULT Function (BCM - COMMON ITEM)
APPLICATION ITEM
CONSULT performs the following functions via CAN communication with BCM.
| Direct Diagnostic Mode | Description |
| ECU identification | The BCM part number is displayed. |
| Self Diagnostic Result | The BCM self diagnostic results are displayed. |
| Data Monitor | The BCM input/output data is displayed in real time. |
| Active Test | The BCM activates outputs to test components. |
| Work support | The settings for BCM functions can be changed. |
| Configuration |
|
| CAN DIAG SUPPORT MNTR | The result of transmit/receive diagnosis of CAN communication is displayed. |
SYSTEM APPLICATION
BCM can perform the following functions.

Retained pwr
RETAINED PWR : CONSULT Function (BCM - RETAINED PWR)
DATA MONITOR

WORK SUPPORT

*: Initial setting
Component partsPower outlet
Center Console
Console Box (if so equipped)
The power outlets are for powering electrical
accessories such as cellular telephones. They
are rated at 12 volt, 120W (10A) maximum.
The power outlets are powered only when the
ignition switch is in the ACC or ON position.
CAUTION
The ...
Symptom diagnosis
Squeak and rattle trouble diagnoses
Work flow
Customer interview
Interview the customer if possible, to determine the conditions that exist
when the noise occurs. Use the diagnostic
worksheet during the interview to document the facts and conditions when the
noise occurs and any
custom ...
Basic inspection
Diagnosis and repair work flow
Work Flow
Overall sequence
Detailed flow
1. Get information for symptom
Get the detailed information from the customer about the symptom (the
condition and the environment when
the incident/malfunction occurred).
>> Go to 2.
2. Check dtc
Check ...