Nissan Sentra Service Manual: Removal and installation
Av control unit
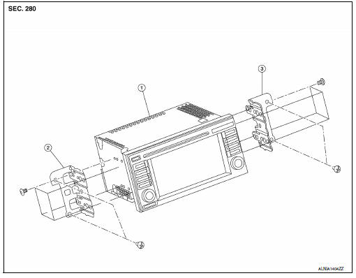
Exploded view

- Av control unit
- Av control unit bracket (lh)
- Av control unit bracket (rh)
Removal and installation
Removal
Caution:
- Disconnect the negative battery terminal. Refer to pg-50, "removal and
installation (battery)".
- Remove cluster lid C lower. Refer to IP-20, "Removal and Installation -
Cluster Lid C Lower".
- Remove the av control unit screws, then pull out the av control unit.
- Disconnect the harness connectors from the av control unit and remove.
Installation
Installation is in the reverse order of removal.
Caution:
When replacing av control unit, perform "write configuration". Refer to
av-252, "configuration
(av control unit) : configuration list".
Front tweeter
Removal and installation
Removal
- Remove the front pillar finisher. Refer to int-24, "front pillar
finisher : removal and installation".
- Disconnect the harness connector (b) from the front tweeter
speaker.
- Remove the front tweeter speaker screw (A) from the front
tweeter speaker (1) and remove.

Installation
Installation is in the reverse order of removal.
Front door speaker
Removal and installation
Removal
- Remove the front door finisher. Refer to int-15, "removal and
installation".
- Remove the front door speaker screws (b).
- Disconnect the harness connector (a) from the front door
speaker (1) and remove.

Installation
Installation is in the reverse order of removal.
Rear speaker
Removal and installation
REMOVAL
- Remove the rear parcel shelf finisher. Refer to INT-33, "Removal and
Installation".
- Remove the rear speaker screws (A).
- Disconnect the harness connector from the rear speaker (1) and
remove.

INSTALLATION
Installation is in the reverse order of removal.
Steering switch
Exploded view

- Steering wheel rear finisher
- Steering wheel
- Steering switches
Pawl
Removal and installation
REMOVAL
- Remove the steering wheel. Refer to ST-10, "Removal and Installation".
- Release the pawls on the steering wheel rear finisher and remove.
- Remove the steering switches screws (A).
- Remove the steering switches (1) from steering wheel (2).

INSTALLATION
Installation is in the reverse order of removal.
Antenna feeder
Location of Antenna

- M112
- M107
- Antenna feeder
- M142
- M144
- Satellite antenna
- M504
- M503
- M502
- M500
- M501
Window Antenna Repair
ELEMENT CHECK
- Attach probe circuit tester (ohm setting) to antenna terminal on
each side.

- When measuring continuity, wrap tin foil around the top of
probe. Then, press the foil against the wire with your finger.

- If an element is broken, no continuity will exist.

- To locate a break, move probe along element. Tester indication
will change abruptly when probe passes the broken point.

REPAIR EQUIPMENT
- Conductive silver composition (DuPont No. 4817 or equivalent)
- Ruler 30 cm (11.8 in) long
- Drawing pen
- Heat gun
- Alcohol
- Cloth
REPAIRING PROCEDURE
- Wipe broken heat wire and its surrounding area clean with a
cloth dampened in alcohol.
- Apply a small amount of conductive silver composition to tip of
drawing pen.
Shake silver composition container before use.
- Place ruler on glass along broken line. Deposit conductive silver
composition on break with drawing pen. Slightly overlap existing
heat wire on both sides [preferably 5 mm (0.20 in)] of the break.

- After repair has been completed, check repaired wire for continuity.
This check should be conducted 10 minutes after silver
composition is deposited.
Do not touch repaired area while test is being conducted.

- Apply a constant stream of hot air directly to the repaired area
for approximately 20 minutes with a heat gun. A minimum distance
of 3 cm (1.2 in) should be kept between repaired area and
hot air outlet.
If a heat gun is not available, let the repaired area dry for 24
hours.

Antenna amp
Removal and installation
REMOVAL
- Remove the rear pillar finisher (RH). Refer to INT-29, "REAR PILLAR
FINISHER : Removal and Installation".
- Disconnect the antenna amp. harness connector (A) from the
rear window glass.
- Disconnect the harness connector (C) from the antenna amp.
(1).
- Remove the antenna amp. screw (B) and the antenna amp. (1).

INSTALLATION
Installation is in the reverse order of removal.
Usb connector and aux jack
Removal and installation
Removal
- Remove the center console rear finisher cover. Refer to TM-253,
"Exploded View".
- Release the pawls and remove the USB connector and aux jack
(1) from the center console rear finisher cover.
Pawl
: Front

Installation
Installation is in the reverse order of removal.
Window antenna
Removal and Installation
The window antenna is serviced as an assembly with the filament. Refer to
DEF-47, "Inspection and Repair".
Satellite radio antenna
Removal and Installation
REMOVAL
- Lower the headlining at the rear. Refer to INT-38, "Exploded View".
- Remove the satellite radio antenna nut (A).
- Disconnect the harness connector (B) from the satellite radio
antenna (1) and remove.

INSTALLATION
Installation is in the reverse order of removal.
Gps antenna
Removal and installation
REMOVAL
- Remove the combination meter. Refer to MWI-77, "Removal and
Installation".
- Remove the AV control unit. Refer to AV-298, "Removal and Installation".
- Remove the screw (A) from the GPS antenna (1).

- Release the harness clips (A) from the instrument panel (1) and
remove the GPS antenna.

INSTALLATION
Installation is in the reverse order of removal.
Microphone
Removal and Installation
REMOVAL
- Remove the front room/map lamp assembly. Refer to INL-52, "Removal and
Installation".
- Disconnect the microphone connector (A) from the front room/
map lamp assembly (2).
- Release the microphone pawls, then remove the microphone
(1).
: Pawl

INSTALLATION
Installation is in the reverse order of removal.
Rear view camera
Removal and Installation
REMOVAL
- Remove trunk lid finisher. Refer to INT-45, "Removal and Installation".
- Disconnect the harness connector (A) from rear view camera
(1).
- Remove the license lamp finisher. Refer to EXT-44, "Removal
and Installation".
- Push the rear view camera (1) in direction shown (
) and
pull
out to remove.

INSTALLATION
Installation is in the reverse order of removal.
Multi av system
Symptom table
Related to audio
Related to hands-free phone
Before performing diagnosis, confirm that the cellular phone being used
by the customer is compatible with
...
Other materials:
Engine oil
Inspection
Engine oil level
Note:
Before starting engine, put vehicle horizontally and check the engine oil
level. If engine is already started, stop
it and allow 10 minutes before checking.
Pull out oil level gauge and wipe it clean.
Insert oil level gauge and check that the engine oil ...
Parking brake system
Inspection and Adjustment
INSPECTION
Lever Stroke
Operate the parking brake lever with a force of 196 N (20.0
kg-f, 44.1 lb-f). Check that the lever stroke is
within the specified number of notches. (Check it by listening to the clicks
of the ratchet.)
Number of notches : Refer t ...
Engine block heater (if so equipped)
Engine block heaters are used to assist with cold
temperature starting.
The engine block heater should be used when
the outside temperature is 20°F (-7°C) or lower.
WARNING
Do not use your engine block heater
with an ungrounded electrical system or
a 2-pronged adapter. You ...
© 2014-2026 Copyright b17.nisentra.com