Nissan Sentra Service Manual: Removal and installation
Audio unit
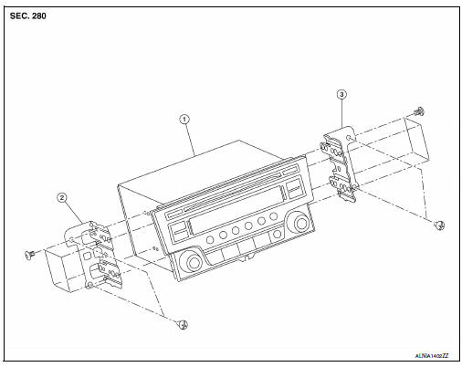
Exploded view

- Audio unit
- Audio unit bracket (LH)
- Audio unit bracket (rh)
Removal and installation
Removal
- Disconnect the negative battery terminal. Refer to pg-50, "removal and
installation (battery)".
- Remove cluster lid c lower. Refer to ip-20, "removal and installation -
cluster lid c lower".
- Remove the audio unit screws, then pull out the audio unit.
- Disconnect the harness connectors from the audio unit and remove.
Installation
Installation is in the reverse order of removal.
Front tweeter
Removal and Installation
Removal
- Remove the front pillar finisher. Refer to int-24, "front pillar
finisher : removal and installation".
- Disconnect the harness connector (b) from the front tweeter
speaker.
- Remove the front tweeter speaker screw (a) from the front
tweeter speaker (1) and remove.

Installation
Installation is in the reverse order of removal.
Front door speaker
Removal and installation
Removal
- Remove the front door finisher. Refer to int-15, "removal and
installation".
- Remove the front door speaker screws (B).
- Disconnect the harness connector (a) from the front door
speaker (1) and remove.

Installation
Installation is in the reverse order of removal.
Rear speaker
Removal and installation
Removal
- Remove the rear parcel shelf finisher. Refer to INT-33, "Removal and
Installation".
- Remove the rear speaker screws (a).
- Disconnect the harness connector from the rear speaker (1) and
remove.

Installation
Installation is in the reverse order of removal.
Steering switch
Exploded view

- Steering wheel rear finisher
- Steering wheel
- Steering switches
Pawl
Removal and installation
Removal
- Remove the steering wheel. Refer to st-10, "removal and installation".
- Release the pawls on the steering wheel rear finisher and remove
- Remove the steering switches screws (a).
- Remove the steering switches (1) from steering wheel (2).

Installation
Installation is in the reverse order of removal.
Antenna feeder
Location of antenna

- M107
- Antenna feeder
- M138
- M503
- M502
- M501
Window antenna repair
Element check
- Attach probe circuit tester (ohm setting) to antenna terminal on
each side.

- When measuring continuity, wrap tin foil around the top of
probe. Then, press the foil against the wire with your finger.

- If an element is broken, no continuity will exist.

- To locate a break, move probe along element. Tester indication
will change abruptly when probe passes the broken point.

Repair equipment
- Conductive silver composition (dupont no. 4817 Or equivalent)
- Ruler 30 cm (11.8 In) long
- Drawing pen
- Heat gun
- Alcohol
- Cloth
Repairing procedure
- Wipe broken heat wire and its surrounding area clean with a
cloth dampened in alcohol.
- Apply a small amount of conductive silver composition to tip of
drawing pen.
Shake silver composition container before use.
- Place ruler on glass along broken line. Deposit conductive silver
composition on break with drawing pen. Slightly overlap existing
heat wire on both sides [preferably 5 mm (0.20 in)] of the break.

- After repair has been completed, check repaired wire for continuity.
This check should be conducted 10 minutes after silver
composition is deposited.
Do not touch repaired area while test is being conducted.

- Apply a constant stream of hot air directly to the repaired area
for approximately 20 minutes with a heat gun. A minimum distance
of 3 cm (1.2 In) should be kept between repaired area and
hot air outlet.
If a heat gun is not available, let the repaired area dry for 24
hours.

Antenna amp
Removal and installation
Removal
- Remove the rear pillar finisher (rh). Refer to int-29, "rear pillar
finisher : removal and installation".
- Disconnect the antenna amp. Harness connector (a) from the
rear window glass.
- Disconnect the harness connector (C) from the antenna amp.
(1).
- Remove the antenna amp. Screw (b) and the antenna amp. (1).

Installation
Installation is in the reverse order of removal.
Window antenna
Removal and installation
The window antenna is serviced as an assembly with the filament. Refer to
def-47, "inspection and repair".
Bluetooth control unit
Removal and Installation
Removal
- Remove the glove box assembly. Refer to ip-22, "removal and installation".
- Remove the bluetooth control unit screws (a) and position aside
the bluetooth control unit assembly (1).
- Disconnect the bluetooth control unit connectors (c) and
release the harness retainer (b) from the bluetooth control unit
bracket.
- Release the harness clip (d) from the bluetooth control unit
bracket and remove the bluetooth control unit (1).

- Remove the bluetooth control unit bracket screws (a), then
remove the bluetooth control unit (2) from the bluetooth control
unit bracket (1).

Installation
Installation is in the reverse order of removal.
Microphone
Removal and installation
Removal
- Remove the front room/map lamp assembly. Refer to INL-52, "Removal and
Installation".
- Disconnect the microphone connector (A) from the front room/
map lamp assembly (2).
- Release the microphone pawls, then remove the microphone
(1).
Pawl

Installation
Installation is in the reverse order of removal.
Audio system
Symptom table
Related to audio
Related to hands-free phone
Before performing diagnosis, confirm that the cellular phone being used
by the customer is compatible with
t ...
Other materials:
Precaution
Precaution for Supplemental Restraint System (SRS) "AIR BAG" and "SEAT
BELT PRE-TENSIONER"
The Supplemental Restraint System such as “AIR BAG” and “SEAT BELT PRE-TENSIONER”,
used along
with a front seat belt, helps to reduce the risk or severity of injur ...
P0743 Torque converter
DTC Logic
DTC DETECTION LOGIC
DTC
CONSULT screen terms
(Trouble diagnosis content)
DTC detection condition
Possible causes
P0743
TORQUE CONVERTER
(Torque Converter Clutch Circuit
Electrical)
The TCM torque converter clutch solenoid
valve current monitor ...
Precaution for Supplemental Restraint System (SRS) "AIR BAG" and "SEAT
BELT PRE-TENSIONER"
The Supplemental Restraint System such as “AIR BAG” and “SEAT BELT PRE-TENSIONER”,
used along
with a front seat belt, helps to reduce the risk or severity of injury to the
driver and front passenger for certain
types of collision. Information necessary to service the system ...
© 2014-2026 Copyright b17.nisentra.com