Nissan Sentra Service Manual: How to select piston and bearing
Description
| Selection points |
Selection parts |
Selection items |
Selection methods |
| Between cylinder block and
crankshaft |
Main bearing |
Main bearing grade (bearing
thickness) |
Determined by match of cylinder
block bearing housing
grade (inner diameter of housing)
and crankshaft journal
grade (outer diameter of journal) |
| Between crankshaft and connecting
rod |
Connecting rod bearing |
Connecting rod bearing grade
(bearing thickness) |
Combining service grades for
connecting rod big end diameter
and crankshaft pin outer diameter
determine connecting
rod bearing selection. |
| Between cylinder block and piston |
Piston and piston pin assembly
(piston is available together with
piston pin as an assembly.) |
Piston grade (piston outer diameter) |
Piston grade = cylinder bore
grade (inner diameter of bore) |
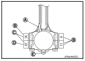
Piston
When new cylinder block is used
- Check the cylinder bore grade on rear (LH) side of cylinder block
(L), and select piston of the same grade.
- Correction stamp
- Standard stamp
- Cylinder No. 1 bore grade
- Cylinder No. 2 bore grade
- Cylinder No. 3 bore grade
- Cylinder No. 4 bore grade
- No. 1 main bearing housing grade
- No. 2 main bearing housing grade
- No. 3 main bearing housing grade
- No. 4 main bearing housing grade
- No. 5 main bearing housing grade
- If there is a correction stamp mark on the cylinder block, use it as a
correct reference.

When cylinder block is reused
- Measure the cylinder bore inner diameter. Refer to EM-123, "Cylinder
Block".
- Determine the bore grade by comparing the measurement with the values
under the cylinder bore inner
diameter of the “Piston Selection Table”.
- Select piston of the same grade.
- Piston grade number
- Front mark
- Identification code

Piston selection table

NOTE:
Piston is available together with piston pin as an assembly.
Connecting Rod Bearing
When new connecting rod and crankshaft are used
- Apply connecting rod big end diameter grade stamped on connecting
rod side face to the row in the “Connecting Rod Bearing
Selection Table”.
- Oil hole
- Engine type
- Cylinder number
- Big end diameter grade
- Front mark

- Apply crankshaft pin journal diameter grade stamped on crankshaft
front side to the column in the “Connecting Rod Bearing
Selection Table”.
No. 1 pin journal diameter grade
No. 2 pin journal diameter grade
No. 3 pin journal diameter grade
No. 4 pin journal diameter grade
No. 1 main journal diameter grade
No. 2 main journal diameter grade
No. 3 main journal diameter grade
No. 4 main journal diameter grade
No. 5 main journal diameter grade

- Read the symbol at the cross point of selected row and column in the
“Connecting Rod Bearing Selection
Table”.
- Apply the symbol obtained to the “Connecting Rod Bearing Grade Table” to
select connecting rod bearing.
When connecting rod and crankshaft are reused
- Measure the dimensions of the connecting rod big end diameter and
crankshaft pin journal diameter individually.
Refer to em-103, "inspection".
- Apply the measured dimension to the “Connecting Rod Bearing Selection
Table”.
- Read the symbol at the cross point of selected row and column in the
“connecting rod bearing selection
table”.
- Apply the symbol obtained to the “Connecting Rod Bearing Grade Table” to
select connecting rod bearing.
Connecting rod bearing selection table

Connecting rod bearing grade table
Connecting rod bearing grade table : Refer to EM-127, "Connecting Rod
Bearing".
Undersize bearings usage guide
- When the specified connecting rod bearing oil clearance is not obtained
with standard size connecting rod
bearings, use undersize (us) bearings
- When using undersize (us) bearing, measure the connecting rod bearing
inner diameter with bearing
installed, and grind the crankshaft pin so that the connecting rod bearing
oil clearance satisfies the standard.
Caution:
In grinding crankshaft pin to use undersize bearings, keep the
fillet r [1.5 - 1.7 Mm (0.059 - 0.067 In)] (a).
Bearing undersize table
: refer to em-127, "connecting rod bearing".

Main Bearing
When new cylinder block and crankshaft are used
- “Main Bearing Selection Table” rows correspond to main bearing
housing grade on rear (LH) side of cylinder block (L).
- Correction stamp
- Standard stamp
- Cylinder No. 1 bore grade
- Cylinder No. 2 bore grade
- Cylinder No. 3 bore grade
- Cylinder No. 4 bore grade
- No. 1 main bearing housing grade
- No. 2 main bearing housing grade
- No. 3 main bearing housing grade
- No. 4 main bearing housing grade
- No. 5 main bearing housing grade
- If there is a correction stamp mark on cylinder block, use it as
a correct reference.

- Apply main journal diameter grade stamped on crankshaft front
side to column in the “Main Bearing Selection Table”.
- No. 1 pin journal diameter grade
- No. 2 pin journal diameter grade
- No. 3 pin journal diameter grade
- No. 4 pin journal diameter grade
- No. 1 main journal diameter grade
- No. 2 main journal diameter grade
- No. 3 main journal diameter grade
- No. 4 main journal diameter grade
- No. 5 main journal diameter grade

- Read the symbol at the cross point of selected row and column in the
“Main Bearing Selection Table”.
CAUTION:
There are two main bearing selection tables. One is for No. 1, 4, and 5
journals and the other is for
No. 2 and 3 journals. Make certain to use the appropriate table. This is due to
differences in the
specified clearances.
- Apply the symbol obtained to the “Main Bearing Grade Table” to select
main bearing.
NOTE:
Service part is available as a set of both upper and lower.
When cylinder block and crankshaft are reused
- Measure the dimensions of the cylinder block main bearing housing inner
diameter and crankshaft main
journal diameter individually. Refer to EM-103, "Inspection".
- Apply the measured dimension to the “Main Bearing Selection Table”.
- Read the symbol at the cross point of selected row and column in the
“Main Bearing Selection Table”.
CAUTION:
There are two main bearing selection tables. One is for No. 1, 4, and 5
journals and the other is for
No. 2 and 3 journals. Make certain to use the appropriate table. This is due to
differences in the
specified clearances.
- Apply the symbol obtained to the “Main Bearing Grade Table” to select
main bearing.
NOTE:
Service part is available as a set of both upper and lower.
Main bearing selection table(No. 1, 4, AND 5 JOURNAL)

Main bearing selection table (no. 2 And 3 journal)

Main bearing grade table(ALL JOURNALS)
Main bearing grade table (All journals) : Refer to EM-127,
"Main Bearing".
Undersize bearing usage guide
- When the specified main bearing oil clearance is not obtained with
standard size main bearings, use undersize
(US) bearing.
- When using undersize (US) bearing, measure the main bearing inner
diameter with bearing installed, and
grind main journal so that the main bearing oil clearance satisfies the
standard.
CAUTION:
In grinding crankshaft main journal to use undersize bearings,
keep the fillet R [1.5 - 1.7 mm (0.059 - 0.067 in)] (A).
Bearing undersize table:
Refer to EM-127, "Main Bearing".

Exploded View
Cylinder block
Block heater (for Canada)
Top ring
Second ring
Oil ring
Piston
Piston pin
Snap ring
Connecting rod
Connecting rod bearing (upper)
Connecting r ...
General Specification
Drive Belt
Spark Plug
*:Always check with the Parts Department for the latest parts information.
Exhaust Manifold
Camshaft
VALVE LIFTER
VALVE CLE ...
Other materials:
Steering column
Inspection
STEERING COLUMN ASSEMBLY
Check each part of steering column assembly for damage or
other malfunctions. Replace entire steering column
assembly if any parts are damaged.
Measure steering column rotating torque using Tool. Replace
steering column assembly if outside the ...
Main line between dlc and av circuit
Diagnosis procedure
1.Check harness continuity (open circuit)
Turn the ignition switch off.
Disconnect the battery cable from the negative terminal.
Disconnect the following harness connectors.
ECM
AV control unit
Check the continuity between the data link connector and the av ...
Tcm branch line circuit
Diagnosis procedure
1.Check connector
Turn the ignition switch off.
Disconnect the battery cable from the negative terminal.
Check the following terminals and connectors for damage, bend and loose
connection (unit side and connector
side).
TCM
Harness connector F50
Harness co ...
© 2014-2026 Copyright b17.nisentra.com