Nissan Sentra Service Manual: Front seat
Driver side
DRIVER SIDE : Exploded View
Driver side
-
Headrest
- Headrest holder (locked)
- Headrest holder (free)
- Seatback silencer
- Seatback trim
- Seatback pad
- Seat belt buckle
- Seat cushion outer finisher (RH)
- Slide cover (RH)
- Seat cushion inner finisher (RH)
- Recline mechanism cover (RH)
- Seat cushion trim
- Seat cushion pad
- Slide cover (LH)
- Seat cushion outer finisher (LH)
- Lift lever
- Lift lever finisher
- Recline lever
- Seat cushion inner finisher (LH)
- Recline mechanism cover (LH)
- Seat frame assembly
- Side air bag module
DRIVER SIDE : Disassembly and Assembly
SEATBACK ASSEMBLY
WARNING:
Do not leave any objects (screwdrivers, tools, etc.) on the seat
during seatback repair. It can lead to
personal injury if the side air bag should accidentally deploy.
CAUTION:
- Before servicing, turn the ignition switch OFF, disconnect both
battery terminals and wait at least
three minutes.
- Handle the side air bag module carefully. During disassembly,
always hold the side air bag module,
do not let it hang by the wire harness.
- Always work from the side or back of the seatback assembly, do not
work in front of seat.
- Do not use air tools or electric tools for servicing the seat
assembly.
- Replace the side air bag module if it has been dropped or
sustained an impact.
- Do not insert any objects into the side air bag module.
- Do not attempt to disassemble the side air bag module.
- Do not expose the side air bag module to temperatures exceeding
93В°C (200В°F).
- Do not expose the side air bag module to any oil, grease,
detergent or water.
- During disassembly, do not damage the seatback board, chutes,
connectors, retainers, clips, module
harness or the side air bag module.
NOTE:
If the vehicle has been involved in a collision and the side air bag
module has deployed, the seatback pad and
seatback trim must be replaced.
Disassembly
- Remove the front seat assembly. Refer to SE-18, "DRIVER SIDE : Removal
and Installation - Seat
Assembly".
- Remove the headrest.
- Release the lower seatback trim retainer straps (D) from the
seat frame assembly
- Unzip the seatback zippers (B), then release J-hook retainers
(C) and (A).

- Unclip the side air bag harness from the seat frame assembly.
NOTE:
Take note of harness routing and attachment location for accurate
installation.
- Disconnect the harness connector from the seatback heater (if equipped).
- Remove the seatback assembly from the seat frame assembly.
- Release the headrest holder locks as shown and remove the
headrest holders.
CAUTION:
Before removing/installing the headrest holder, check its
orientation (front/rear and right/left).

- Remove and discard the side air bag module nuts (A).
CAUTION:
Do not reuse the side air bag module nuts.
- Side air bag module

- Disengage the side air bag module studs from the seat frame assembly and
lift the seatback trim and
seatback pad as an assembly from the seat frame assembly.
- Separate the seatback trim from the seatback pad.
- Open the seatback trim and release the side air bag module
studs (A) from the holes in the chute (B).
- Pull the side air bag module (1) out of the chute (B) and remove
from the seatback trim.

CAUTION:
- Replace the side air bag module if it has been dropped or
sustained an impact.
- Do not strike the side air bag module.

- Remove the hog rings, release the hook fastener (A) and separate
the seatback trim from the seatback pad.
Hog ring
NOTE:
Remove all pieces of hog rings and discard them.

Assembly
Assembly is in the reverse order of disassembly.
CAUTION:
- Inspect seatback pad, seatback trim and seatback trim chutes.
Replace if damaged.
- Smooth out all wrinkles during assembly.
- Always route side air bag module harness in original location.
Replace any deformed or damaged
clips with same type and color. Always install clips in the original
location in the harness.
- After work is completed, check that no system malfunction is
detected causing the air bag warning
lamp to illuminate.
- If a malfunction is detected by the air bag warning lamp after
repair or replacement of the malfunction
parts, perform the SRS final check. Refer to SRC-17, "SRS Final Check".
- When installing the side air bag module, make sure the side air
bag chute (1) is pulled over the outboard surface of the side air bag
module (2). Make sure there are no wrinkles and the chute is not
folded, twisted or pinched.
- Seatback pad
- Seat frame assembly
Front
- Tighten the side air bag module nuts to specification. Refer to SE-
26, "DRIVER SIDE : Exploded View".
CAUTION:
Do not reuse the side air bag module nuts.

- When installing the seatback trim, firmly push down while sliding
your hand along the seams as shown (
) to ensure the hook fasteners
below the seatback trim are fastened properly.

- Install new hog rings on the seatback trim in original positions.
Use only one hog ring in each designated location.
Ensure hog rings are correctly fastened around both the seatback
trim and seatback pad wires.
Use NISSAN standard hog rings and tools to assemble.

Seat cushion
Warning:
Do not leave any objects (screwdrivers, tools, etc.) On the seat
during seat cushion repair. It can lead
to personal injury if the side air bag should accidentally deploy.
Caution:
- Before servicing, turn the ignition switch off, disconnect both
battery terminals and wait at least
three minutes.
- Always work from the side or back of the seatback assembly, do not
work in front of seat.
- Do not use air tools or electric tools for servicing the seat
assembly.
- During disassembly, do not damage the seatback cover, chutes,
connectors, retainers, clips, module
harness or the side air bag module.
Disassembly
- Remove the front seat assembly. Refer to se-18, "driver side : removal
and installation - seat
assembly".
- Remove the seat cushion outer finisher (LH) (4).
- Release pawls and remove the lift lever finisher (2).
- Remove two screws and the lift lever (1).
- Release pawl and remove the recline lever (3) as shown.
- Release pawls and pull to release the metal clips.
Metal clip
: Pawl

- Remove the seat cushion outer finisher (RH) (1).
- Remove the seat belt buckle (2) and position aside. Refer to SB-
8, "Removal and Installation".
- Release pawls and pull to release the metal clips.
Metal clip
Pawl

- Remove the seat cushion trim (1) and seat cushion pad as an
assembly.
: Front

- Release j-clip retainer (a) from the seat frame assembly.
- Release j-clip retainer (b) from the seat frame assembly.
- Release J-clip retainer (D) from the seat frame assembly.
- Release retainer strip (c) from the seat frame assembly.
- Disconnect the harness connector from the seat cushion heater
(if equipped).
Note:
Take note of harness routing and attachment location for accurate
installation.
- Remove the seat cushion trim and seat cushion pad as an
assembly from the seat frame assembly.
- Remove the hog rings, release the hook fastener (a) and separate
the seat cushion trim from the seat cushion pad.
: Hog ring
Note:
Remove all pieces of hog rings and discard them.

Assembly
Assembly is in the reverse order of disassembly.
Caution:
- Smooth out all wrinkles during assembly.
- Always route side air bag module harness in original location.
Replace any deformed or damaged
clips with same type and color. Always install clips in the original
location in the harness.
- After work is completed, check that no system malfunction is
detected causing the air bag warning
lamp to illuminate.
- If a malfunction is detected by the air bag warning lamp after
repair or replacement of the malfunction
parts, perform the srs final check. Refer to src-17, "srs final check".
- When installing the seat cushion trim, firmly push down while sliding
your hand along the seams as shown (
) to ensure the hook
fasteners below the seat cushion trim are fastened properly.

- Install new hog rings on the seat cushion trim in original positions.
Use only one hog ring in each designated location.
Ensure hog rings are correctly fastened around both the seat cushion
trim and seat cushion pad wires.
Use nissan standard hog rings and tools to assemble.

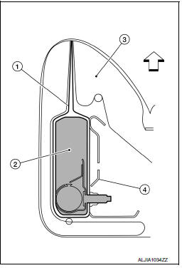
DRIVER SIDE : Side Air Bag Module
Warning:
Do not leave any objects (screwdrivers, tools, etc.) On the seat
during seatback repair. It can lead to
personal injury if the side air bag should accidentally deploy.
Caution:
- Before servicing the side air bag module, turn the ignition switch
off, disconnect both battery terminals
and wait at least three minutes.
- Handle the side air bag module carefully. During disassembly,
always hold the side air bag module,
do not let it hang by the wire harness.
- Always work from the side or back of the seatback assembly, do not
work in front of seat.
- Do not use air tools or electric tools for servicing the seat
assembly.
- Replace the side air bag module if it has been dropped or
sustained an impact.
- Do not insert any objects into the side air bag module.
- Do not attempt to disassemble the side air bag module.
- Do not expose the side air bag module to temperatures exceeding
93В°c (200В°f).
- Do not expose the side air bag module to any oil, grease,
detergent or water.
- During disassembly, do not damage the seatback board, chutes,
connectors, retainers, clips, module
harness or the side air bag module.
Note:
- If the vehicle has been involved in a collision and the side air bag
has deployed, the front seatback assembly
must be replaced.
- For side air bag module removal and installation, seatback trim and
seatback pad must be removed.
Disassembly
- Remove the front seat assembly. Refer to SE-18, "DRIVER SIDE : Removal
and Installation - Seat
Assembly".
- Remove the headrest.
- Release the lower seatback trim retainer straps (d) from the
seat frame assembly
- Unzip the seatback zippers (B), then release the J-hook retainers
(C) and (A).

- Unclip the side air bag module harness from the seat frame assembly.
Note:
Take note of harness routing and attachment location for accurate
installation.
- Disconnect the harness connector from the seatback heater (if equipped).
- Remove the seatback assembly from the seat frame assembly.
- Release the headrest holder locks as shown and remove the
headrest holders.
CAUTION:
Before removing/installing the headrest holder, check its
orientation (front/rear and right/left).

- Remove and discard the side air bag module nuts (A).
CAUTION:
Do not reuse the side air bag module nuts.
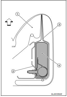
- Side air bag module

- Disengage the side air bag module studs from the seat frame assembly and
lift the seatback trim and
seatback pad as an assembly from the seat frame assembly.
- Open the seatback trim and release the side air bag module
studs (A) from the holes in the chute (B).
- Pull the side air bag module (1) out of the chute (B) and remove
from the seatback trim.

CAUTION:
- Replace the side air bag module if it has been dropped or
sustained an impact.
- Do not strike the side air bag module.

ASSEMBLY
Installation is in the reverse order of removal.
CAUTION:
- Inspect seatback pad, seatback trim and seatback trim chutes.
Replace if damaged.
- Smooth out all wrinkles during assembly.
- Always route side air bag module harness in original location.
Replace any deformed or damaged
clips with same type and color. Always install clips in the original
location in the harness.
- After installation is completed, check that no system malfunction
is detected causing the air bag
warning lamp to illuminate.
- If a malfunction is detected by the air bag warning lamp after
repair or replacement of the malfunction
parts, perform the SRS final check. Refer to SRC-17, "SRS Final Check".
- When installing the side air bag module, make sure the side air
bag chute (1) is pulled over the outboard surface of the side air bag
module (2). Make sure there are no wrinkles and the chute is not
folded, twisted or pinched.
- Seatback pad
- Seat frame assembly
: Front
- Tighten the side air bag module nuts to specification. Refer to SE-
26, "DRIVER SIDE : Exploded View".
CAUTION:
Do not reuse the side air bag module nuts.

Passenger side
PASSENGER SIDE : Exploded View
Passenger side
- Headrest
- Headrest holder (free)
- Headrest holder (locked)
- Seatback trim
- Seatback pad
- Seatback silencer
- Side air bag module
- Recline mechanism cover (RH)
- Seat cushion inner finisher (RH)
- Recline lever
- Seat cushion outer finisher (RH)
- Seat cushion trim
- Seat cushion pad
- Seat cushion outer finisher (LH)
- Seat cushion inner finisher (LH)
- Recline mechanism cover (LH)
- Seat belt buckle
- Seat frame assembly
PASSENGER SIDE : Disassembly and Assembly
SEATBACK ASSEMBLY
WARNING:
Do not leave any objects (screwdrivers, tools, etc.) on the seat
during seatback repair. It can lead to
personal injury if the side air bag should accidentally deploy.
CAUTION:
- Before servicing, turn the ignition switch OFF, disconnect both
battery terminals and wait at least
three minutes.
- Handle the side air bag module carefully. During disassembly,
always hold the side air bag module,
do not let it hang by the wire harness.
- Always work from the side or back of the seatback assembly, do not
work in front of seat.
- Do not use air tools or electric tools for servicing the seat
assembly.
- Replace the side air bag module if it has been dropped or
sustained an impact.
- Do not insert any objects into the side air bag module.
- Do not attempt to disassemble the side air bag module.
- Do not expose the side air bag module to temperatures exceeding
93В°C (200В°F).
- Do not expose the side air bag module to any oil, grease,
detergent or water.
- During disassembly, do not damage the seatback board, chutes,
connectors, retainers, clips, module
harness or the side air bag module.
NOTE:
If the vehicle has been involved in a collision and the side air bag
module has deployed, the seatback pad and
seatback trim must be replaced.
Disassembly
- Remove the front seat assembly. Refer to SE-20, "PASSENGER SIDE :
Removal and Installation - Seat
Assembly".
- Remove the headrest.
- Release the lower seatback trim retainer straps (D) from the
seat frame assembly.
- Unzip the seatback zippers (B), then release the J-hook retainers
(C) and (A).

- Unclip the side air bag module harness from the seat frame assembly.
NOTE:
Take note of harness routing and attachment location for accurate
installation.
- Disconnect the harness connector from the seatback heater (if equipped).
- Remove the seatback assembly from the seat frame assembly.
- Release the headrest holder locks as shown and remove the
headrest holders.
CAUTION:
Before removing/installing the headrest holder, check its
orientation (front/rear and right/left).

- Remove and discard the side air bag module nuts (A).
CAUTION:
Do not reuse the side air bag module nuts.
- Side air bag module

- Disengage the side air bag module studs from the seat frame assembly and
lift the seatback trim and
seatback pad as an assembly from the seat frame assembly.
- Separate the seatback trim from the seatback pad.
- Open the seatback trim and release the side air bag module
studs (A) from the holes in the chute (B).
- Pull the side air bag module (1) out of the chute (B) and remove
from the seatback trim.

CAUTION:
- Replace the side air bag module if it has been dropped or
sustained an impact.
- Do not strike the side air bag module.

- Remove the hog rings, release the hook fastener (A) and separate
the seatback trim from the seatback pad.
: Hog ring
NOTE:
Remove all pieces of hog rings and discard them.

Assembly
Assembly is in the reverse order of disassembly.
CAUTION:
- Inspect seatback pad, seatback trim and seatback trim chutes.
Replace if damaged.
- Smooth out all wrinkles during assembly.
- Always route side air bag module harness in original location.
Replace any deformed or damaged
clips with same type and color. Always install clips in the original
location in the harness.
- After work is completed, check that no system malfunction is
detected causing the air bag warning
lamp to illuminate.
- If a malfunction is detected by the air bag warning lamp after
repair or replacement of the malfunction
parts, perform the SRS final check. Refer to SRC-17, "SRS Final Check".
- When installing the side air bag module, make sure the side air
bag chute (3) is pulled over the outboard surface of the side air bag
module (4). Make sure there are no wrinkles and the chute is not
folded, twisted or pinched.
- Seatback pad
- Seat frame assembly
: Front
- Tighten the side air bag nuts to specification. Refer to SE-35,
"PASSENGER SIDE : Exploded View".
CAUTION:
Do not reuse the side air bag module nuts.

- When installing the seatback trim, firmly push down while sliding
your hand along the seams as shown (
) to ensure the hook fasteners
below the seatback trim are fastened properly.

- Install new hog rings on the seatback trim in original positions.
Use only one hog ring in each designated location.
Ensure hog rings are correctly fastened around both the seatback
trim and seatback pad wires.
Use NISSAN standard hog rings and tools to assemble.

Seat cushion
WARNING:
Do not leave any objects (screwdrivers, tools, etc.) On the seat
during seat cushion repair. It can lead
to personal injury if the side air bag should accidentally deploy.
Caution:
Disassembly
- Remove the front seat assembly. Refer to se-20, "passenger side :
removal and installation - seat
assembly".
- Remove the seat cushion outer finisher (rh) (2).
- Release pawl and remove the recline lever (1) as shown.
- Release pawls and pull to release the metal clips.
: Metal clip
: Pawl

- Remove the seat cushion outer finisher (lh) (1).
- Remove the seat belt buckle (2) and position aside. Refer to sb-
8, "removal and installation".
- Release pawls and pull to release the metal clips.
: Metal clip
: Pawl

- Remove the seat cushion trim (1) and seat cushion pad as an
assembly.
Front
- Release j-clip retainer (a) from the seat frame assembly.
- Release J-clip retainer (B) from the seat frame assembly
- Release J-clip retainer (D) from the seat frame assembly
- Release retainer strip (c) from the seat frame assembly.
- Disconnect the harness connector from the seat cushion heater
(if equipped).
Note:
Take note of harness routing and attachment location for accurate
installation.
- Remove the seat cushion trim and seat cushion pad as an
assembly from the seat frame assembly.

- Remove the hog rings, release the hook fastener (A) and separate
the seat cushion trim from the seat cushion pad.
Hog ring
Note:
Remove all pieces of hog rings and discard them.

Assembly
Assembly is in the reverse order of disassembly.
Caution:
- Smooth out all wrinkles during assembly.
- Always route seat harness in original location. Replace any
deformed or damaged clips with same
type and color. Always install clips in the original location in the
harness.
- After work is completed, check that no system malfunction is
detected causing the air bag warning
lamp to illuminate.
- If a malfunction is detected by the air bag warning lamp after
repair or replacement of the malfunction
parts, perform the srs final check. Refer to src-17, "srs final check".
- When installing the seat cushion trim, firmly push down while sliding
your hand along the seams as shown (
) to ensure the hook
fasteners below the seat cushion trim are fastened properly.

- Install new hog rings on the seat cushion trim in original positions.
Use only one hog ring in each designated location.
Ensure hog rings are correctly fastened around both the seat cushion
trim and seat cushion pad wires.
Use NISSAN standard hog rings and tools to assemble.

PASSENGER SIDE : Side Air Bag Module
Warning:
Do not leave any objects (screwdrivers, tools, etc.) On the seat
during seatback repair. It can lead to
personal injury if the side air bag should accidentally deploy.
Caution:
- Before servicing the side air bag module, turn the ignition switch
off, disconnect both battery terminals
and wait at least three minutes.
- Handle the side air bag module carefully. During disassembly,
always hold the side air bag module,
do not let it hang by the wire harness.
- Always work from the side or back of the seatback assembly, do not
work in front of seat.
- Do not use air tools or electric tools for servicing the seat
assembly.
- Replace the side air bag module if it has been dropped or
sustained an impact.
- Do not insert any objects into the side air bag module.
- Do not attempt to disassemble the side air bag module.
- Do not expose the side air bag module to temperatures exceeding
93В°c (200В°f).
- Do not expose the side air bag module to any oil, grease,
detergent or water.
- During disassembly, do not damage the seatback board, chutes,
connectors, retainers, clips, module
harness or the side air bag module.
Note:
- If the vehicle has been involved in a collision and the side air bag
module has deployed, the front seatback
assembly must be replaced.
- For side air bag module removal and installation, seatback trim and
seatback pad must be removed.
Disassembly
- Remove the front seat assembly. Refer to se-20, "passenger side :
removal and installation - seat
assembly".
- Remove the headrest.
- Release the lower seatback trim retainer straps (D) from the
seat frame assembly.
- Unzip the seatback zippers (B), then release the J-hook retainers
(C) and (A).

- Unclip the side air bag module harness from the seat frame assembly.
Note:
Take note of harness routing and attachment location for accurate
installation.
- Disconnect the harness connector from the seatback heater (if equipped).
- Remove the seatback assembly from the seat frame assembly.
- Release the headrest holder locks as shown and remove the
headrest holders.
Caution:
Before removing/installing the headrest holder, check its
orientation (front/rear and right/left).

- Remove and discard the side air bag module nuts (a).
Caution:
Do not reuse the side air bag module nuts.
- Side air bag module

- Disengage the side air bag module studs from the seat frame assembly and
lift the seatback trim and
seatback pad as an assembly from the seat frame assembly.
- Open the seatback trim and release the side air bag module
studs (a) from the holes in the chute (b).
- Pull the side air bag module (1) out of the chute (B) and remove
from the seatback trim.

Caution:
- Replace the side air bag module if it has been dropped or
sustained an impact.
- Do not strike the side air bag module.

Assembly
Installation is in the reverse order of removal.
Caution:
- Inspect seatback pad, seatback trim and seatback trim chutes.
Replace if damaged.
- Smooth out all wrinkles during assembly.
- Always route side air bag module harness in original location.
Replace any deformed or damaged
clips with same type and color. Always install clips in the original
location in the harness.
- After installation is completed, check that no system malfunction
is detected causing the air bag
warning lamp to illuminate.
- If a malfunction is detected by the air bag warning lamp after
repair or replacement of the malfunction
parts, perform the srs final check. Refer to src-17, "srs final check".
- When installing the side air bag module, make sure the side air
bag chute (3) is pulled over the outboard surface of the side air bag
module (4). Make sure there are no wrinkles and the chute is not
folded, twisted or pinched.
- Seatback pad
- Seat frame assembly
Front
- Tighten the side air bag module nuts to specification. Refer to SE-
35, "PASSENGER SIDE : Exploded View".
Caution:
Do not reuse the side air bag module nuts.

Exploded View
Rear seatback assembly (rh)
Seatback striker
Seatback latch release knob
Seatback latch assembly
Seatback silencer (RH)
Rear seatback frame (rh)
Seatback latch release ...
Other materials:
Throttle valve closed position
learning
Description
Throttle Valve Closed Position Learning is a function of ECM to learn the
fully closed position of the throttle
valve by monitoring the throttle position sensor output signal. It must be
performed each time the harness connector
of the electric throttle control actuator or ECM is ...
Rear window defogger switch
Description
The rear window defogger is operated by pressing the rear window
defogger switch ON.
The indicator lamp in the rear window defogger switch illuminates while
the rear window defogger is on.
Component function check
1. Check rear window defogger switch function
Check (Ð ...
Precaution for Supplemental Restraint System (SRS)
"AIR BAG" and "SEAT BELT PRE-TENSIONER"
The Supplemental Restraint System such as “AIR BAG” and “SEAT BELT PRE-TENSIONER”,
used along
with a front seat belt, helps to reduce the risk or severity of injury to the
driver and front passenger for certain
types of collision. Information necessary to service the system ...
© 2014-2026 Copyright b17.nisentra.com