Exploded View

Parking brake lever assembly
Adjusting nut
Parking brake switch
Front parking brake cable
Rear parking brake cable (LH)
Rear parking brake cable (RH)
Front
Removal and Installation
REMOVAL
Parking Brake Control
Remove rear wheels and tires using power tool. Refer to WT-47, "Adjustment".
Remove the center console assembly. Refer to IP-14, "Removal and Installation".
Disconnect the parking brake switch harness connector.
Remove adjusting nut and loosen front parking brake cable.
Remove the parking brake lever assembly.
Rear Parking Brake Cable
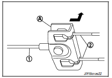
Pull equalizer (A) of the front parking brake cable (1) in a rearward direction and then push upward to remove each rear parking brake cable (2)

Remove sub muffler and heat plate. Refer to EX-5, "Removal and Installation".
Remove rear parking brake cable from toggle lever. Refer to BR-42, "Exploded View" (drum brake) or PB- 9, "Exploded View - Disc Brake" (disc brake).
Remove rear parking brake cable bolts.
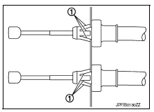
Press the pawl (1) to remove each rear parking brake cable from the vehicle.

INSTALLATION
Installation is in the reverse order of removal.
CAUTION:
Do not reuse adjusting nut.
Perform adjustment after installation. Refer to PB-4, "Inspection and Adjustment".
Adjustment
ADJUSTMENT AFTER INSTALLATION
Adjust the parking brake lever stroke. Refer to PB-4, "Inspection and Adjustment".
Parking brake shoeIpdm-e branch line circuit
Diagnosis procedure
1.Check connector
Turn the ignition switch OFF.
Disconnect the battery cable from the negative terminal.
Check the terminals and connectors of the IPDM E/R for damage, bend and
loose connection (unit side
and connector side).
Is the inspection result normal?
Yes ...
P0456 EVAP Control system
DTC Logic
DTC DETECTION LOGIC
This diagnosis detects leaks in the EVAP line between fuel tank and EVAP
canister purge volume control solenoid
valve, using the negative pressure caused by decrease of fuel temperature in the
fuel tank after turning
ignition switch OFF.
If ECM judges there a ...
Removal and installation
EPS control unit
Exploded View
Steering column assembly
EPS control unit
Bracket plate
Front
Removal and Installation
REMOVAL
CAUTION:
Disconnect battery negative terminal before starting
operations.
Do not shock EPS control unit, e.g. drop or hit.
Do not ...